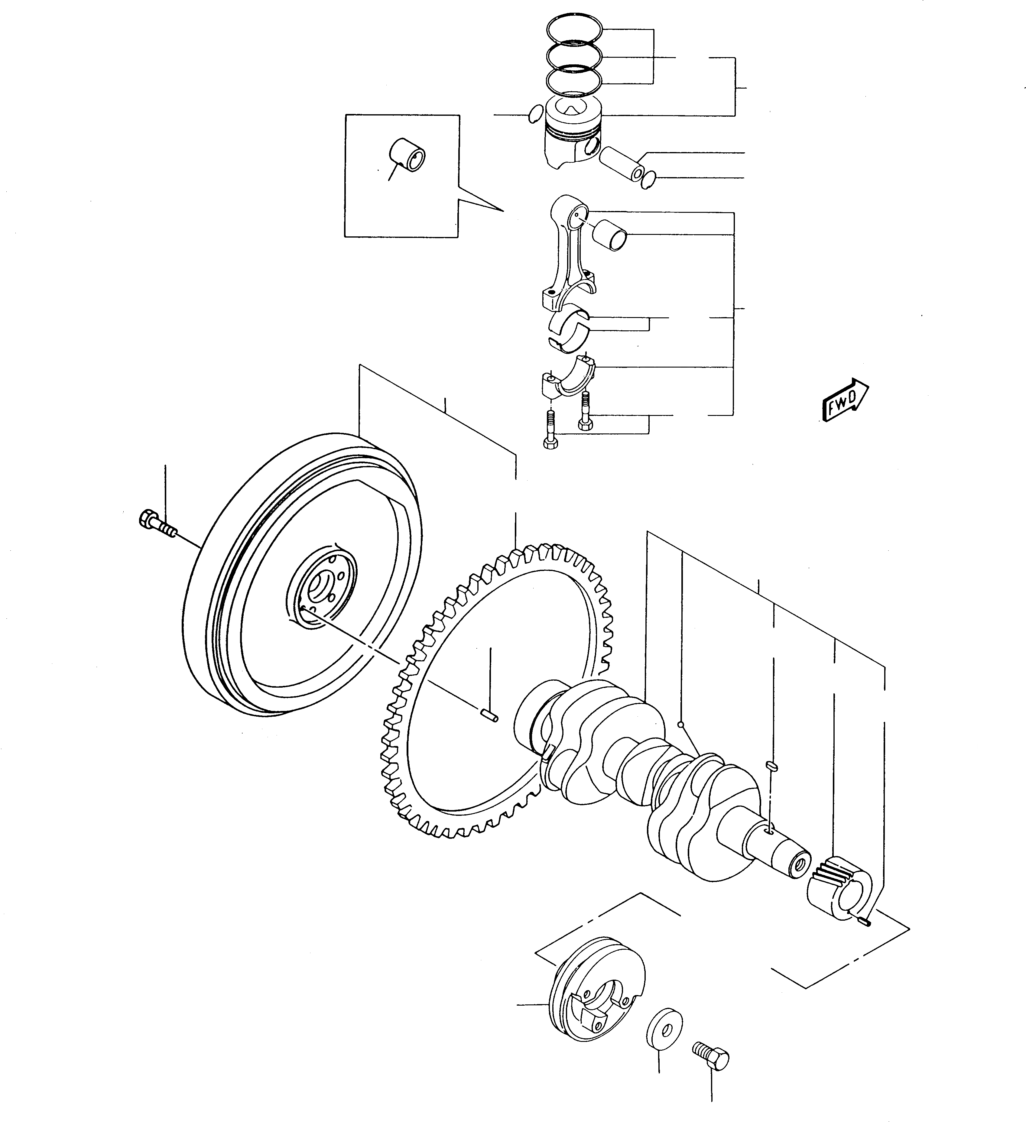
Запчасти Komatsu 230 КОЛЕНВАЛ И ПОРШЕНЬ ДВИГАТЕЛЬ

Схема запчастей Komatsu 230 - КОЛЕНВАЛ И ПОРШЕНЬ ДВИГАТЕЛЬ
17
25
15
23
22
21
22
35
33
29
36
11
32
10
13
1
14
5
3
4
7
8
9
FIT
1:1
100%

Артикул

Название

Примечание

Количество

1

YMR000445

CRANKSHAFT, ASSY.

3

YMR000181

GEAR

4

YMR000363

PEG

5

YMR000369

KEY

7

YMR000345

PULLEY

8

YMR000300

WASHER

9

YMR000072

BOLT

10

YMR000055

SCREW

11

YMR000136

FLYWHEEL

13

YMR000050

GEAR, RING

14

YMR000097

PIN

15

YMR000127

PISTON, ASSY.

17

YMR000128

RING SET, PISTON

21

YMR000182

PIN, PISTON

22

YMR000054

RING, SNAP

23

YMR000446

ASSY, PISTON (+0.25 mm)

25

YMR000454

RING SET (+0.25 mm)

29

YMR000452

CONNECTING ROD, ASSY.

32

YMR000070

SCREW

33

YMR000183

BEARING

35

YMR000103

BUSHING

36

YMR000184

BEARING (--0.25 mm)

Выбрано товаров: 22