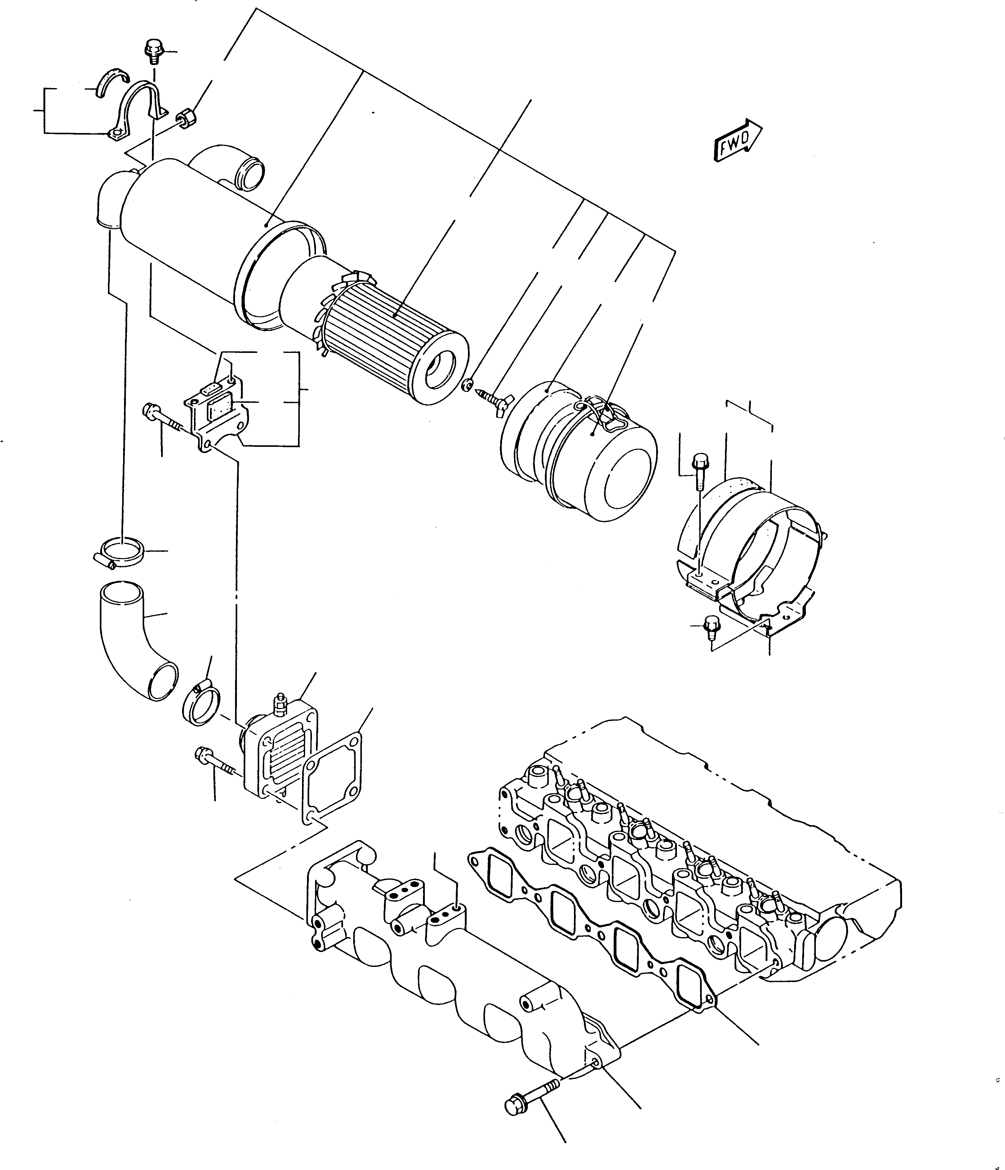
Запчасти Komatsu 245 ВСАСЫВАЮЩ. ПАТРУБОК - ВОЗДУХООЧИСТИТЕЛЬ ДВИГАТЕЛЬ

Схема запчастей Komatsu 245 - ВСАСЫВАЮЩ. ПАТРУБОК - ВОЗДУХООЧИСТИТЕЛЬ ДВИГАТЕЛЬ
a
a
21
8
2
15
13
9
6
5
4
3
18
10
16
19
12
23
11
29
20
1
22
20
27
28
29
25
24
26
FIT
1:1
100%

Артикул

Название

Примечание

Количество

1

YMR000047

PIPE, SUCTION

2

YMR000145

AIR FILTER, ASSY.

3

YMR000525

PAN ASSY., DUST

4

YMR000057

RING, SNAP

5

YMR000058

SCREW

6

YMR000462

SPRING WASHER

8

YMR000516

PLUG

9

YMR000463

SCREEN

10

YMR000523

AIR CLEANER SUPPORT, ASSY.

11

YMR000522

AIR CLEANER SUPPORT, ASSY.

12

YMR000023

FELT, SUPPORT

13

YMR000141

BRACKET

15

YMR000142

SHEET, RUBBER

16

YMR000524

SUPPORT

18

YMR000143

SHEET, RUBBER

19

YMR000144

DAMPER

20

YMR000372

CLAMP

21

YMR000396

BOLT

22

YMR000401

BOLT

23

YMR000404

SCREW

24

YMR000546

MANIFOLD, INTAKE

25

YMR000551

GASKET

26

YMR000406

BOLT

27

YMR000134

HEATER, AIR

28

YMR000532

GASKET

29

YMR000406

BOLT

Выбрано товаров: 0