Запчасти Komatsu HB205-1 КАБИНА, КАБИНА IN ЧАСТИ, КОНДИЦ. ВОЗДУХА И KOMTRAX КОНТРОЛЛЕР (№-) КАБИНА, ПРАВ. И ЗАДН. ФИКС. ОКНА, С -ДОПОЛН. АКТУАТОР ТРУБЫ, АККУМУЛЯТОР, KOMTRAX

Схема запчастей Komatsu HB205-1 - КАБИНА, КАБИНА IN ЧАСТИ, КОНДИЦ. ВОЗДУХА И KOMTRAX КОНТРОЛЛЕР (№-) КАБИНА, ПРАВ. И ЗАДН. ФИКС. ОКНА, С -ДОПОЛН. АКТУАТОР ТРУБЫ, АККУМУЛЯТОР, KOMTRAX
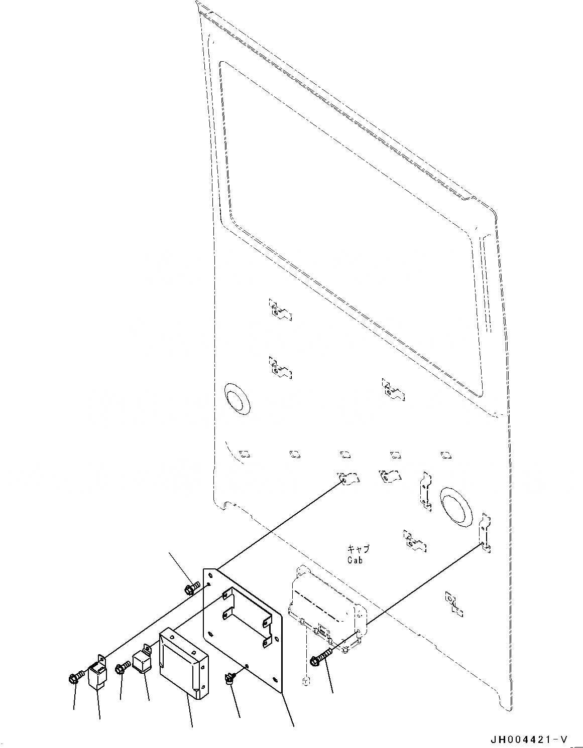
2
3
4
5
6
6
7
8
1
FIT
1:1
100%

Артикул

Название

Примечание

Количество

1

20Y-53-14821

Plate

2

01435-40812

Bolt

3

17A-979-3180

Controller

4

421-07-31270

Relay

5

20Y-979-6771

Relay

6

01435-00610

Bolt

7

08059-00515

Clip

8

01435-00625

Bolt

Выбрано товаров: 8