Качественные детали и логистика
Оригинальные и аналоговые запчасти с доставкой по России, Казахстану и Беларуси
©2022 PartSell ООО "Система" ИНН 2463123282 ОГРН 1212400004838
Центральный офис: г. Красноярск, Академика Киренского, д.87, пом.4
Телефон: 8 (800) 777-65-74 Email: zakaz@partsell.ru
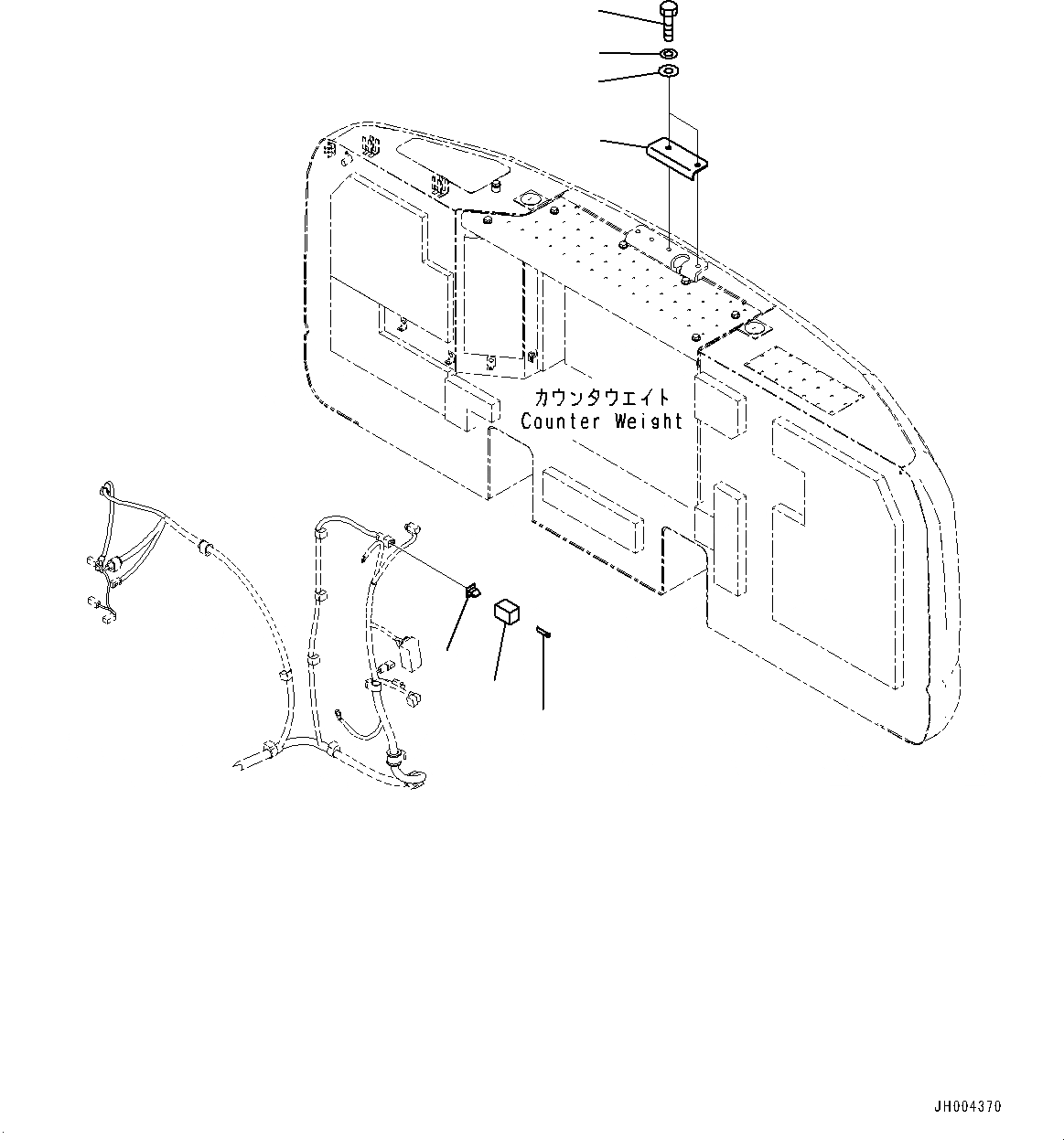
ЗАДН.VIEW CAMERA, (№-)
№
Артикул
Название
Примечание
Количество
1
08192-24200
Connector
2
08192-14400
Wedge
3
08191-00770
Plug, Connector
4
205-06-32570
Bracket
5
175-54-34170
Washer
6
01010-81235
Bolt
7
01643-31232
Выбрано товаров: 0