Запчасти Komatsu HB205-1M0 БЫСТРОСЪЕМН. МЕХ-М ТРУБЫ, КЛАПАН (№-) БЫСТРОСЪЕМН. МЕХ-М ТРУБЫ

Схема запчастей Komatsu HB205-1M0 - БЫСТРОСЪЕМН. МЕХ-М ТРУБЫ, КЛАПАН (№-) БЫСТРОСЪЕМН. МЕХ-М ТРУБЫ
3
4
1
2
FIT
1:1
100%

Артикул

Название

Примечание

Количество

|$0

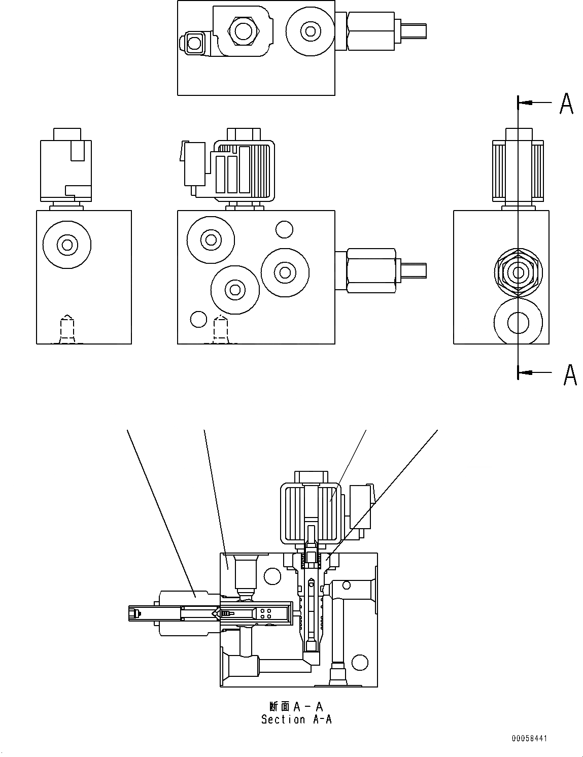
20J-62-13141

Valve

1

20J-06-11640

Coil

2

20J-60-11590

Valve

3

20J-60-11580

Valve, Pressure Reducing

4

20J-60-11570

Block

Выбрано товаров: 5