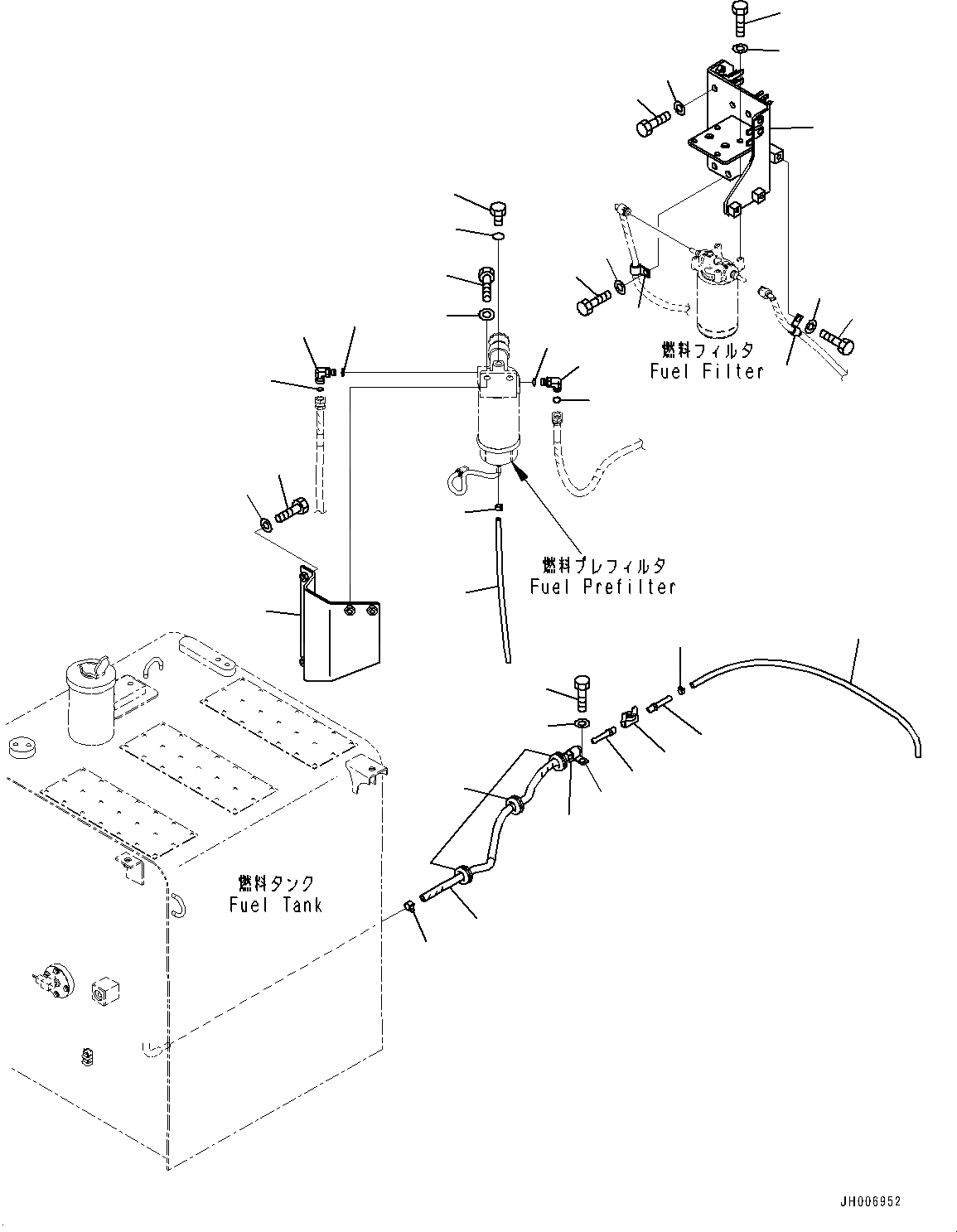
Запчасти Komatsu HB215LC-1 ТОПЛИВОПРОВОД., ДРЕНАЖН. ТРУБЫ (№-) ТОПЛИВОПРОВОД., ЕС ARRANGEMENT

Схема запчастей Komatsu HB215LC-1 - ТОПЛИВОПРОВОД., ДРЕНАЖН. ТРУБЫ (№-) ТОПЛИВОПРОВОД., ЕС ARRANGEMENT
3
4
5
6
7
10
13
14
17
18
22
23
24
5
7
6
24
14
29
30
15
16
19
21
20
11
12
9
8
2
1
26
25
25
26
28
27
15
FIT
1:1
100%

Артикул

Название

Примечание

Количество

1

07372-21240

Bolt

2

01643-51232

Washer

3

07270-00822

Tube

4

07285-00100

Clip

5

02782-10311

Elbow

6

02896-11009

O-ring

7

07002-11423

O-ring

8

07040-11409

Plug

9

07002-11423

O-ring

10

205-04-22231

Bracket

11

01010-81230

Bolt

12

01643-31232

Washer

13

20Y-04-41281

Hose

14

11Y-09-11140

Clip

15

20Y-04-31170

Nipple

16

07700-50240

Valve

17

07285-00115

Clip

18

07270-01070

Tube

19

04434-51612

Clip

20

01010-81225

Bolt

21

01643-31232

Washer

22

205-977-7310

Grommet

23

205-04-22390

Bracket

24

04434-51612

Clip

25

01010-81225

Bolt

26

01643-31232

Washer

27

01010-80825

Bolt

28

01643-30823

Washer

29

01010-81230

Bolt

30

01643-31232

Washer

Выбрано товаров: 30