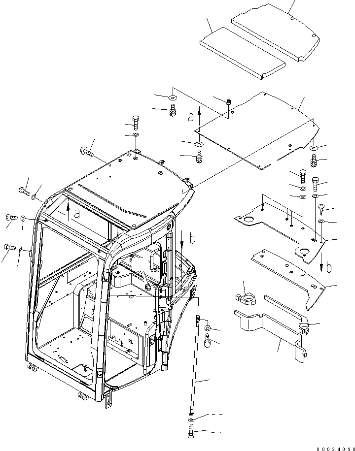
Запчасти Komatsu MX202 КАБИНА (8/8) (КАБИНАЧАСТЬ) КАБИНА ОПЕРАТОРА И СИСТЕМА УПРАВЛЕНИЯ

Схема запчастей Komatsu MX202 - КАБИНА (8/8) (КАБИНА ЧАСТЬ) КАБИНА ОПЕРАТОРА И СИСТЕМА УПРАВЛЕНИЯ
1
2
3
4
5
5
5
6
6
7
8
9
10
11
12
13
14
15
16
17
18
19
20
21
21
22
22
23
24
25
26
27
27
27
28
28
28
FIT
1:1
100%

Артикул

Название

Примечание

Количество

|1

461-123

CAB ASS'Y

1

457-722

COVER

2

458-743

SHEET

3

458-710

SHEET

4

458-414

NUT

5

458-907

WASHER

6

461-504

SCREW

7

461-499

SCREW

8

458-683

SEAT

9

457-716

COVER

10

458-769

SHEET

11

458-704

SHEET

12

458-712

SHEET

13

458-907

WASHER

14

455-265

SCREW

15

458-909

WASHER

16

107-965

BOLT

17

455-131

WASHER

18

107-965

BOLT

19

455-131

WASHER

20

457-831

GRIP

21

107-994

BOLT

22

455-133

WASHER

23

456-636

BOLT

24

107-993

BOLT

25

455-133

WASHER

26

458-410

NUT

27

458-632

SCREW

28

455-132

WASHER

Выбрано товаров: 0