Запчасти Komatsu MX202 КАБИНА (КОНТРОЛЬ ХОДА) КАБИНА ОПЕРАТОРА И СИСТЕМА УПРАВЛЕНИЯ

Схема запчастей Komatsu MX202 - КАБИНА (КОНТРОЛЬ ХОДА) КАБИНА ОПЕРАТОРА И СИСТЕМА УПРАВЛЕНИЯ
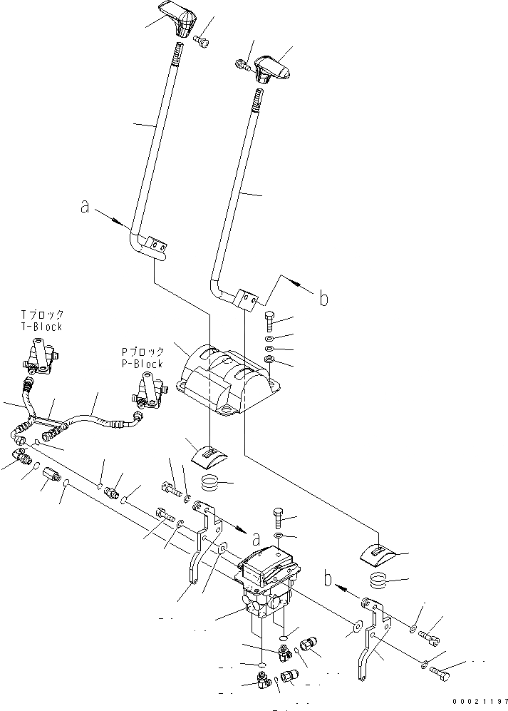
1
2
3
4
5
6
7
8
8
9
9
10
11
12
12
13
14
15
16
17
18
19
20
21
21
22
23
23
24
24
25
25
26
26
27
27
28
28
29
29
30
30
31
31
32
33
34
35
35
FIT
1:1
100%

Артикул

Название

Примечание

Количество

1

457-694

COVER

2

457-661

COLLAR

3

107-966

BOLT

4

455-132

WASHER

5

455-141

WASHER

6

457-988

LEVER,L.H.

7

457-986

LEVER,R.H.

8

456-877

BOLT

9

455-132

WASHER

10

453-088

KNOB,L.H.

11

453-089

KNOB,R.H.

12

455-251

SCREW

13

458-270

PILOT VALVE,(SEE FIG.Y1670-01A0)

14

107-966

BOLT

15

455-132

WASHER

16

453-390

NIPPLE

17

453-523

O-RING

18

453-688

O-RING

19

452-307

ELBOW

20

453-416

NIPPLE

21

453-523

O-RING

22

453-688

O-RING

23

457-767

ELBOW

24

453-688

O-RING

25

453-523

O-RING

26

458-529

PLATE

27

457-661

COLLAR

28

458-819

SPRING

29

457-696

COVER

30

107-985

BOLT

31

455-220

WASHER

32

457-939

HOSE,BLUE¤ WHITE

|32

450-123

BAND¤ BLUE

|32

450-128

BAND¤ WHITE

33

457-938

HOSE,GREEN¤ RED

|33

450-125

BAND¤ GREEN

|33

450-127

BAND¤ RED

34

450-105

BAND

35

457-969

JOINT

Выбрано товаров: 0