Запчасти Komatsu MX27 СИДЕНЬЕ ОПЕРАТОРА (С ВОЗД. ПОДВЕСКОЙ) КАБИНА ОПЕРАТОРА И СИСТЕМА УПРАВЛЕНИЯ

Схема запчастей Komatsu MX27 - СИДЕНЬЕ ОПЕРАТОРА (С ВОЗД. ПОДВЕСКОЙ) КАБИНА ОПЕРАТОРА И СИСТЕМА УПРАВЛЕНИЯ
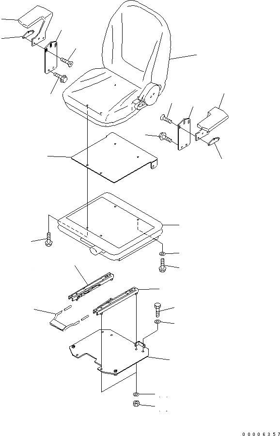
1
2
3
4
5
6
7
8
9
10
11
12
13
14
15
16
17
18
19
20
21
22
23
24
FIT
1:1
100%

Артикул

Название

Примечание

Количество

1

456-172

SEAT ASS'Y

2

450-450

BRACKET

|3

453-949

SUSPENSION ASS'Y

3

453-950

SUSPENSION

|4

450-882

SLIDE RAIL ASS'Y

4

457-490

SLIDE RAIL,L.H.

5

457-491

SLIDE RAIL,R.H.

6

452-748

HANDLE

7

455-681

BOLT

8

455-681

BOLT

9

455-138

WASHER

10

108-047

NUT

11

455-225

WASHER

12

455-538

PLATE

13

107-979

BOLT

14

455-220

WASHER

15

450-061

ARM REST,L.H.

16

455-575

SCREW

17

455-541

PLATE

18

455-540

PLATE

19

456-802

BOLT

20

450-060

ARM REST,R.H.

21

455-575

SCREW

22

455-541

PLATE

23

455-540

PLATE

24

456-802

BOLT

Выбрано товаров: 26