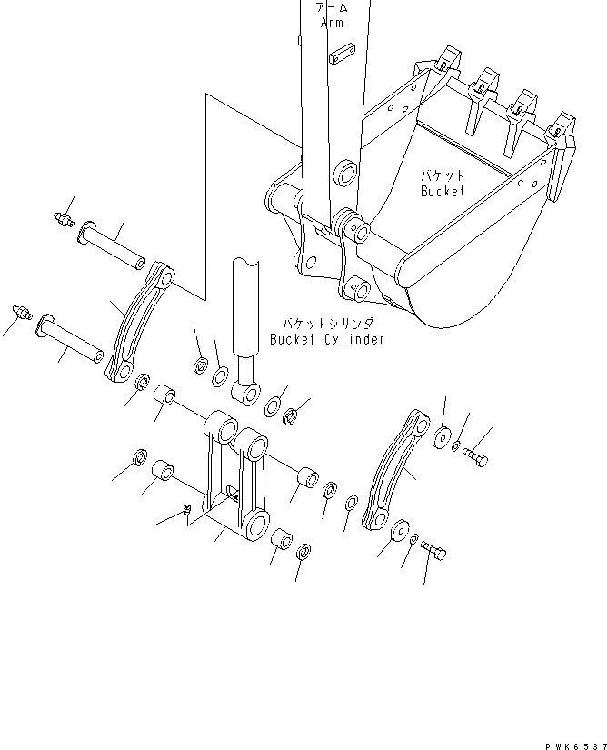
Запчасти Komatsu MX35 СОЕДИНЕНИЕ КОВША РАБОЧЕЕ ОБОРУДОВАНИЕ

Схема запчастей Komatsu MX35 - СОЕДИНЕНИЕ КОВША РАБОЧЕЕ ОБОРУДОВАНИЕ
1
2
2
3
3
4
4
4
4
4
4
5
6
7
8
8
9
9
10
10
11
11
12
12
13
13
14
FIT
1:1
100%

Артикул

Название

Примечание

Количество

|1

453-224

LINK ASS'Y

2

451-046

BUSHING

3

451-047

BUSHING

4

452-190

SEAL,DUST

5

450-802

PLUG

6

455-515

LINK

7

455-516

LINK

8

454-176

PIN

9

452-420

FITTING,GREASE

10

454-433

PLATE

11

108-027

BOLT

12

455-227

WASHER

13

457-417

SHIM¤ 2.5MM

14

457-558

SPACER¤ 1.0MM

Выбрано товаров: 0