Запчасти Komatsu MX35 КАБИНА (/) (ДВЕРЬ /) КАБИНА ОПЕРАТОРА И СИСТЕМА УПРАВЛЕНИЯ

Схема запчастей Komatsu MX35 - КАБИНА (/) (ДВЕРЬ /) КАБИНА ОПЕРАТОРА И СИСТЕМА УПРАВЛЕНИЯ
1
2
3
3
4
4
5
6
7
8
9
10
11
11
12
12
13
13
14
15
16
17
18
19
20
20
20
20
20
20
20
20
20
20
20
20
21
FIT
1:1
100%

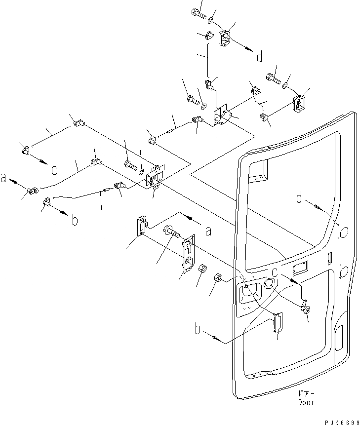
Артикул

Название

Примечание

Количество

|1

455-392

CAB ASS'Y

|1

452-164

DOOR ASS'Y

1

454-637

PLATE

2

456-636

BOLT

3

452-750

HANDLE

4

108-046

NUT

5

450-900

REMOTE CONTROL ASS'Y

6

455-272

SCREW

7

455-226

WASHER

8

453-237

LINK ASS'Y

9

455-272

SCREW

10

455-226

WASHER

11

453-273

LOCK ASS'Y

12

107-955

BOLT

13

455-226

WASHER

14

455-080

ROD

15

455-081

ROD

16

455-082

ROD

17

455-083

ROD

18

455-084

ROD

19

455-085

ROD

20

457-493

SNAP

21

453-270

LOCK ASS'Y

Выбрано товаров: 0