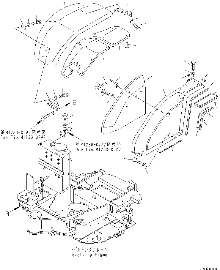
Запчасти Komatsu MX45 ПЕРЕДН. КРЫШКА(КРОМЕ ЯПОН.) ЧАСТИ КОРПУСА

Схема запчастей Komatsu MX45 - ПЕРЕДН. КРЫШКА(КРОМЕ ЯПОН.) ЧАСТИ КОРПУСА
1
2
3
4
5
6
7
8
9
10
11
12
13
13
14
14
15
16
17
18
19
20
21
21
21
22
23
24
25
26
27
28
29
29
30
30
FIT
1:1
100%

Артикул

Название

Примечание

Количество

|1

451-907

COVER ASS'Y

1

451-821

COVER

2

456-512

SHEET

3

456-511

SHEET

4

451-482

CLIP

5

453-276

LOCK ASS'Y

6

453-886

STOPPER

7

108-048

NUT

8

450-532

BRACKET

9

105-274

BOLT

10

455-220

WASHER

11

450-523

BRACKET

12

452-805

HINGE

13

105-274

BOLT

14

455-220

WASHER

|15

451-897

COVER ASS'Y

15

451-793

COVER

16

456-086

SEAL

17

456-087

SEAL

18

456-516

SHEET

19

453-890

STOPPER

20

456-509

SHEET

21

455-172

WASHER

22

456-510

SHEET

23

458-088

TRIM

24

107-994

BOLT

25

455-217

WASHER

26

107-966

BOLT

27

455-220

WASHER

28

450-525

BRACKET

29

105-274

BOLT

30

455-220

WASHER

Выбрано товаров: 0