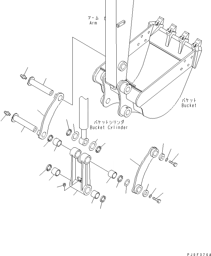
Запчасти Komatsu MX502 СОЕДИНЕНИЕ КОВША РАБОЧЕЕ ОБОРУДОВАНИЕ

Схема запчастей Komatsu MX502 - СОЕДИНЕНИЕ КОВША РАБОЧЕЕ ОБОРУДОВАНИЕ
1
2
2
3
3
4
4
4
4
4
4
5
6
7
8
8
9
9
10
10
11
11
12
12
13
13
14
FIT
1:1
100%

Артикул

Название

Примечание

Количество

|1

455-517

LINK ASS'Y

1

453-240

LINK

2

451-052

BUSHING

3

451-054

BUSHING

4

456-017

SEAL,DUST

5

450-802

PLUG

6

453-213

LINK,L.H.

7

453-214

LINK,R.H.

8

454-140

PIN

9

452-420

FITTING,GREASE

10

454-437

PLATE

11

108-040

BOLT

12

455-228

WASHER

13

457-418

SHIM¤ 2.5MM

14

457-557

SPACER¤ 1.0MM

Выбрано товаров: 0