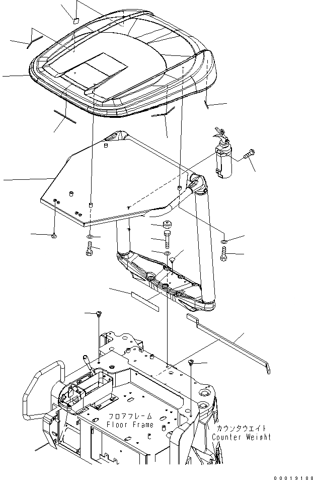
Запчасти Komatsu MX502 НАВЕС КАБИНА ОПЕРАТОРА И СИСТЕМА УПРАВЛЕНИЯ

Схема запчастей Komatsu MX502 - НАВЕС КАБИНА ОПЕРАТОРА И СИСТЕМА УПРАВЛЕНИЯ
1
2
3
4
5
6
7
8
9
10
11
11
12
13
14
14
15
15
15
16
16
FIT
1:1
100%

Артикул

Название

Примечание

Количество

1

458-618

ROOF

2

459-439

POLE

3

459-540

SHEET

4

108-143

BOLT

5

455-224

WASHER

6

459-063

CAP

7

107-979

BOLT

8

455-132

WASHER

9

107-986

BOLT

10

455-132

WASHER

11

451-226

CAP

12

459-471

SCREW

13

459-579

SHEET

14

451-207

CAP

15

459-559

SHEET

16

459-558

SHEET

Выбрано товаров: 16