Запчасти Komatsu PC01-1 РЫЧАГ УПРАВЛ-Я ХОДОМ (СПЕЦ-Я TBG) (КРОМЕ ЯПОН.) СИСТЕМА УПРАВЛЕНИЯ И ОСНОВНАЯ РАМА

Схема запчастей Komatsu PC01-1 - РЫЧАГ УПРАВЛ-Я ХОДОМ (СПЕЦ-Я TBG) (КРОМЕ ЯПОН.) СИСТЕМА УПРАВЛЕНИЯ И ОСНОВНАЯ РАМА
FIT
1:1
100%

Артикул

Название

Примечание

Количество

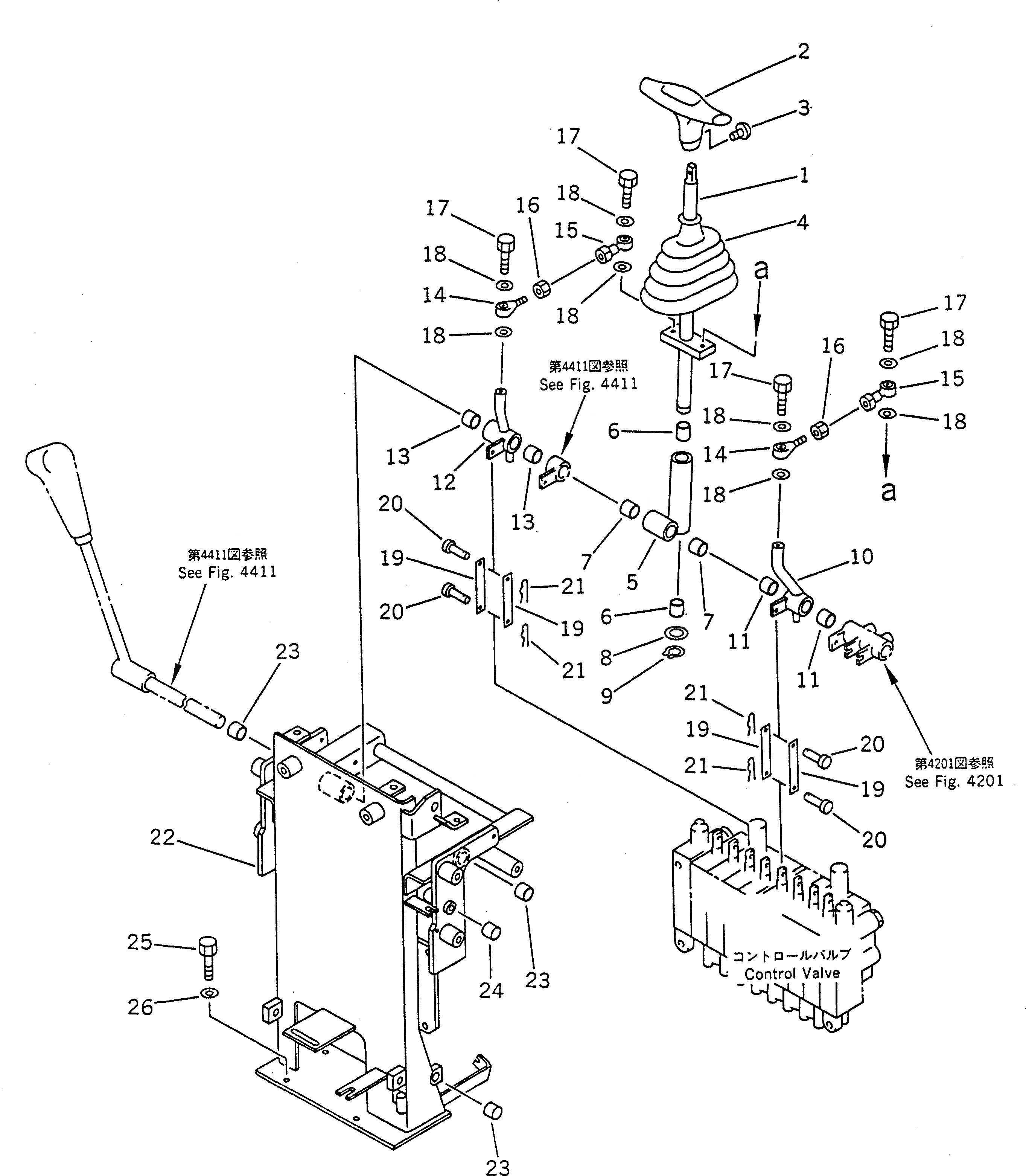
1

21A-43-11130

LEVER

2

21R-43-11120

KNOB

3

01224-70616

SCREW

4

21A-43-11950

BOOT

5

21A-43-11140

LEVER

6

09350-01420

BUSHING

7

21A-43-11280

BUSHING

8

01641-21423

WASHER

9

04064-01410

RING,SNAP

|$16

21A-43-09110

LEVER ASS'Y

10

LEVER,L.H.

11

21A-43-11280

BUSHING

|$19

21A-43-09120

LEVER ASS'Y

12

LEVER,R.H.

13

21A-43-11280

BUSHING

14

21A-43-11170

ROD END,ROD

15

21A-43-11180

ROD END,ROD

16

01580-10605

NUT

17

01010-50620

BOLT

18

04254-10623

SPACER

19

21A-43-11190

PLATE

20

04205-10414

PIN

21

04052-10430

PIN,SNAP

|$30

21A-43-09130

BRACKET ASS'Y

22

BRACKET

23

09350-01415

BUSHING

24

21A-43-11810

BUSHING

25

01010-80820

BOLT

26

01643-30823

WASHER

Выбрано товаров: 29