Запчасти Komatsu PC01-1A ОПОРНЫЙ КАТОК ХОДОВАЯ

Схема запчастей Komatsu PC01-1A - ОПОРНЫЙ КАТОК ХОДОВАЯ
FIT
1:1
100%

Артикул

Название

Примечание

Количество

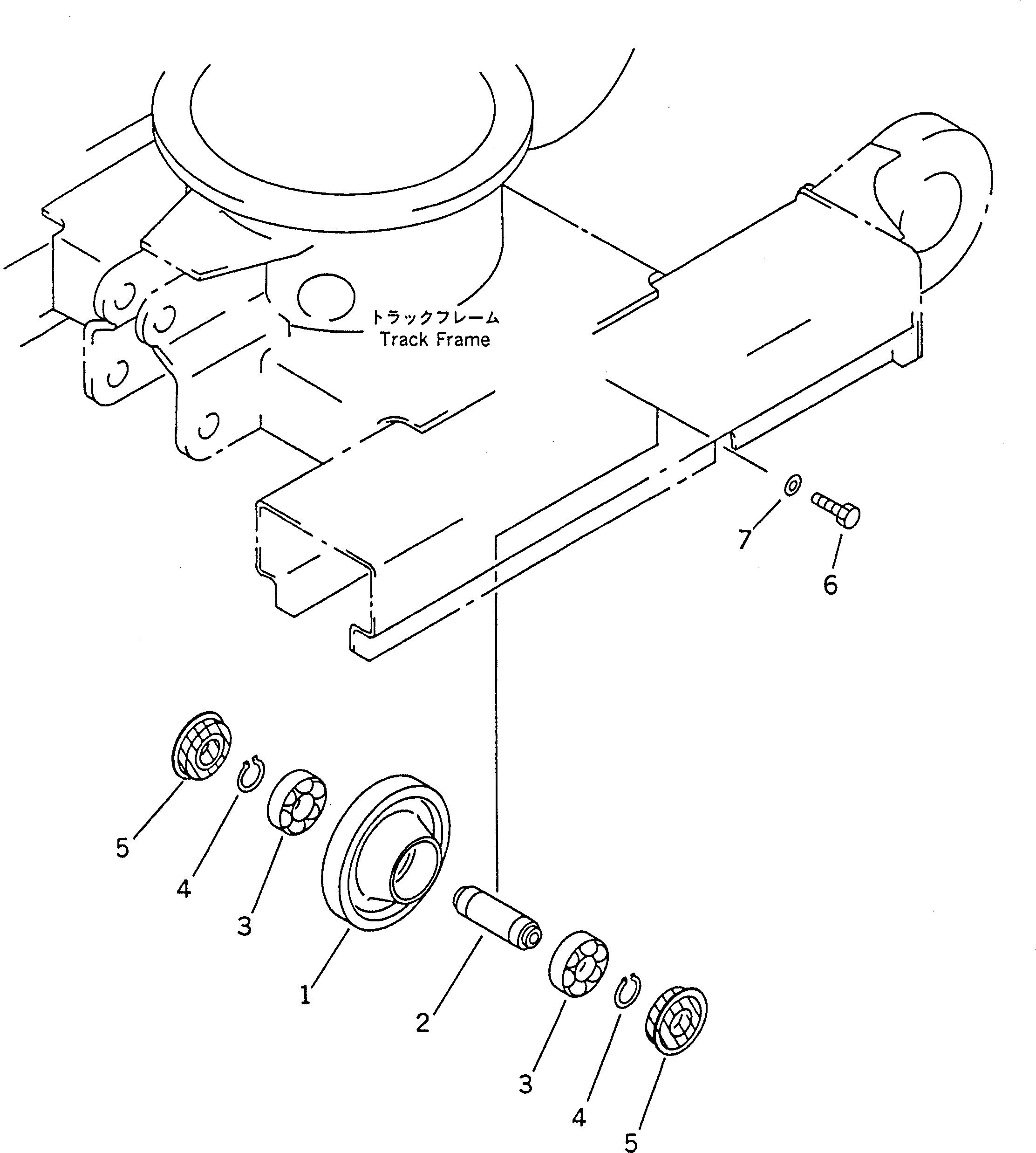
|1

21A-35-11300

TRACK ROLLER ASS'Y

1

21R-35-11310

ROLLER

2

21A-35-11320

SHAFT

3

06000-06205

BEARING

4

04064-02512

RING,SNAP

5

21R-35-11230

SEAL

6

01010-51025

BOLT

7

21A-35-11240

WASHER

Выбрано товаров: 0