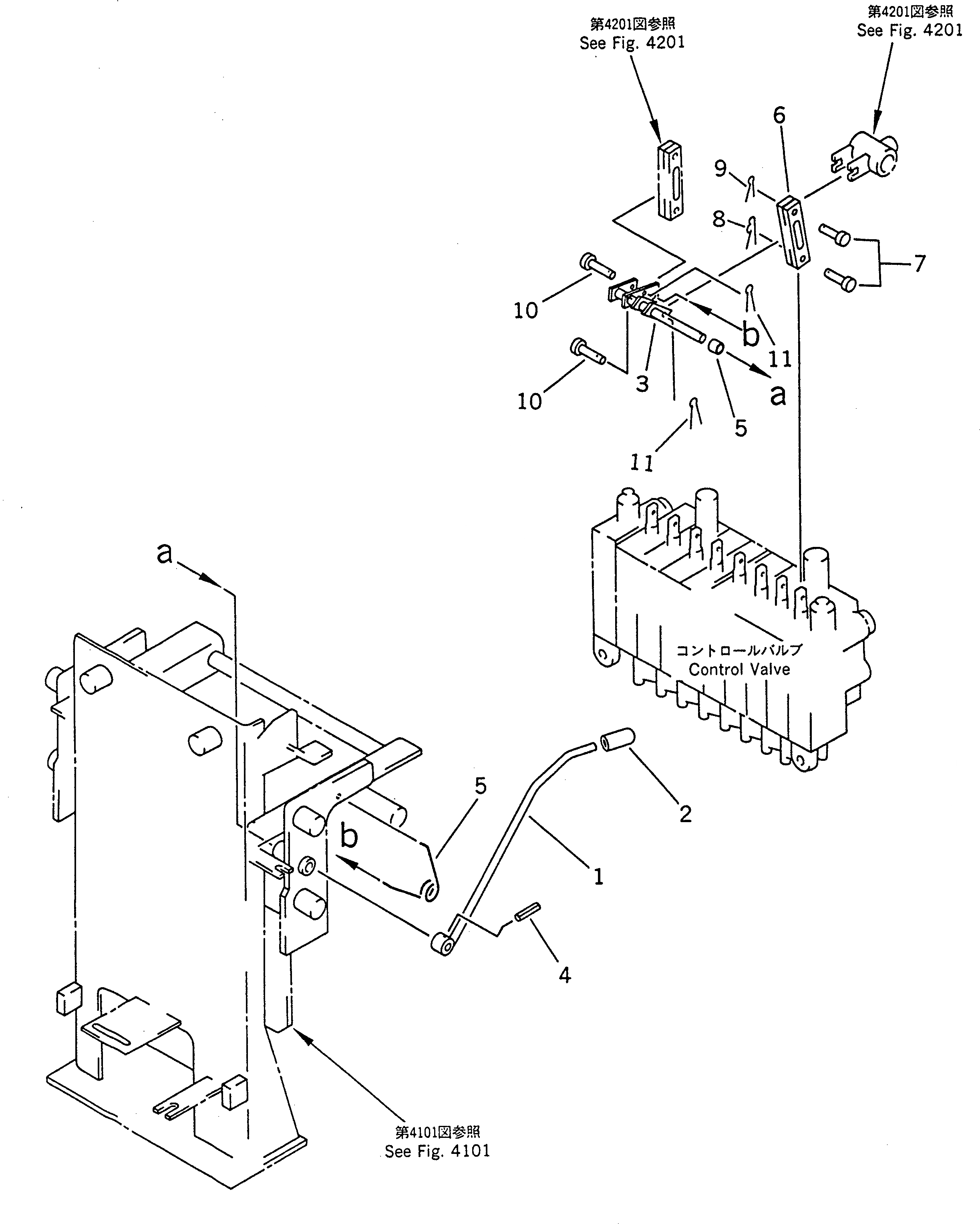
Запчасти Komatsu PC01-1A УПРАВЛЕНИЕ ПОВОРОТОМ СТРЕЛЫ ПЕДАЛЬ СИСТЕМА УПРАВЛЕНИЯ И ОСНОВНАЯ РАМА

Схема запчастей Komatsu PC01-1A - УПРАВЛЕНИЕ ПОВОРОТОМ СТРЕЛЫ ПЕДАЛЬ СИСТЕМА УПРАВЛЕНИЯ И ОСНОВНАЯ РАМА
FIT
1:1
100%

Артикул

Название

Примечание

Количество

1

21A-43-11420

LEVER

2

21A-43-11430

CAP

3

21A-43-11410

LEVER

4

04025-00316

PIN,SPRING

5

09467-00006

SPRING

6

21A-43-11290

YOKE

7

04205-10416

PIN

8

04052-10430

PIN,SNAP

9

04050-11008

PIN,COTTER

10

04205-10522

PIN

11

04050-11210

PIN,COTTER

Выбрано товаров: 11