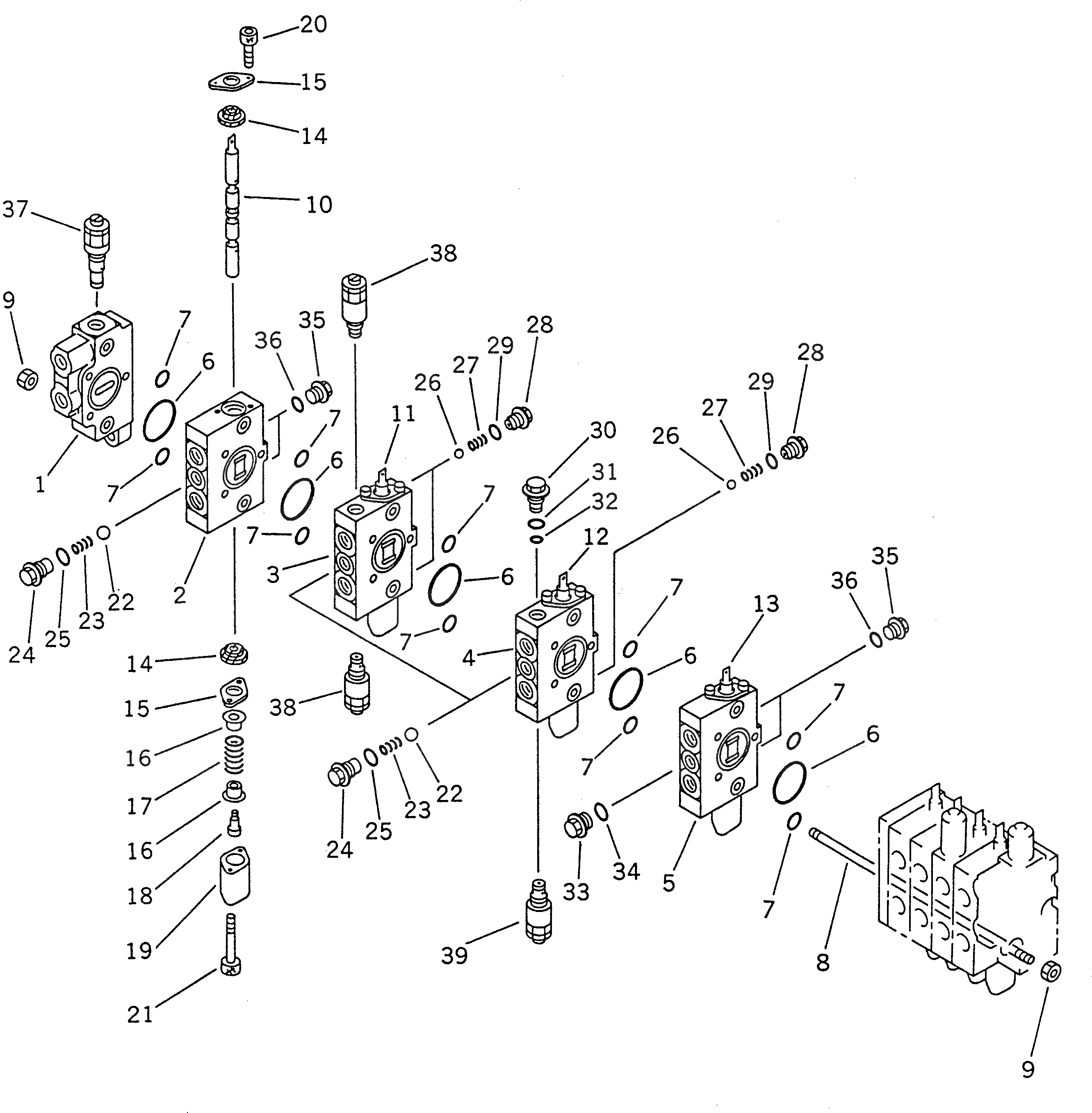
Запчасти Komatsu PC01-1A ГИДРАВЛ УПРАВЛЯЮЩ. КЛАПАН (/) (8-СЕКЦИОНН.) УПРАВЛ-Е РАБОЧИМ ОБОРУДОВАНИЕМ

Схема запчастей Komatsu PC01-1A - ГИДРАВЛ УПРАВЛЯЮЩ. КЛАПАН (/) (8-СЕКЦИОНН.) УПРАВЛ-Е РАБОЧИМ ОБОРУДОВАНИЕМ
FIT
1:1
100%

Артикул

Название

Примечание

Количество

|1

724-00-11000

VALVE ASS'Y

1

724-00-31410

BLOCK

2

BLOCK (K1)

3

BLOCK (K2)

4

BLOCK (K3)

5

BLOCK (K4)

6

724-00-81510

O-RING

7

07000-12011

O-RING

8

724-00-81410

BOLT,STUD

9

01580-00806

NUT

10

SPOOL,BOOM SWING (K1)

11

SPOOL,SWING (K2)

12

SPOOL,ARM (K3)

13

SPOOL,L.H. TRAVEL (K4)

14

724-00-31760

SEAL,OIL

15

724-00-31720

PLATE

16

724-00-31730

RETAINER

17

724-00-31750

SPRING

18

724-00-31740

BOLT

19

724-00-31710

COVER

20

01252-30510

BOLT

21

01252-30540

BOLT

22

724-00-81130

BALL

23

724-00-81120

SPRING

24

724-00-81110

SLEEVE

25

07002-11623

O-RING

26

724-00-81230

BALL

27

724-00-81220

SPRING

28

724-00-81210

SLEEVE

29

07002-11223

O-RING

30

724-00-81320

PLUG

31

07002-11423

O-RING

32

724-00-51150

O-RING

33

724-00-81330

PLUG

34

07002-11623

O-RING

35

724-00-81310

PLUG

36

07002-11223

O-RING

37

724-00-51000

VALVE ASS'Y,MAIN RELIEF

38

724-00-52000

VALVE ASS'Y,SWING RELIEF

39

724-00-61000

VALVE ASS'Y,SAFETY

K1

724-00-31910

SPOOL KIT,BOOM SWING

|2

BLOCK

|10

SPOOL

K2

724-00-31920

SPOOL KIT,SWING

|3

BLOCK

|11

SPOOL

K3

724-00-31930

SPOOL KIT,ARM

|4

BLOCK

|12

SPOOL

K4

724-00-31940

SPOOL KIT,L.H. TRAVEL

|5

BLOCK

|13

SPOOL

Выбрано товаров: 52