Качественные детали и логистика
Оригинальные и аналоговые запчасти с доставкой по России, Казахстану и Беларуси
©2022 PartSell ООО "Система" ИНН 2463123282 ОГРН 1212400004838
Центральный офис: г. Красноярск, Академика Киренского, д.87, пом.4
Телефон: 8 (800) 777-65-74 Email: zakaz@partsell.ru
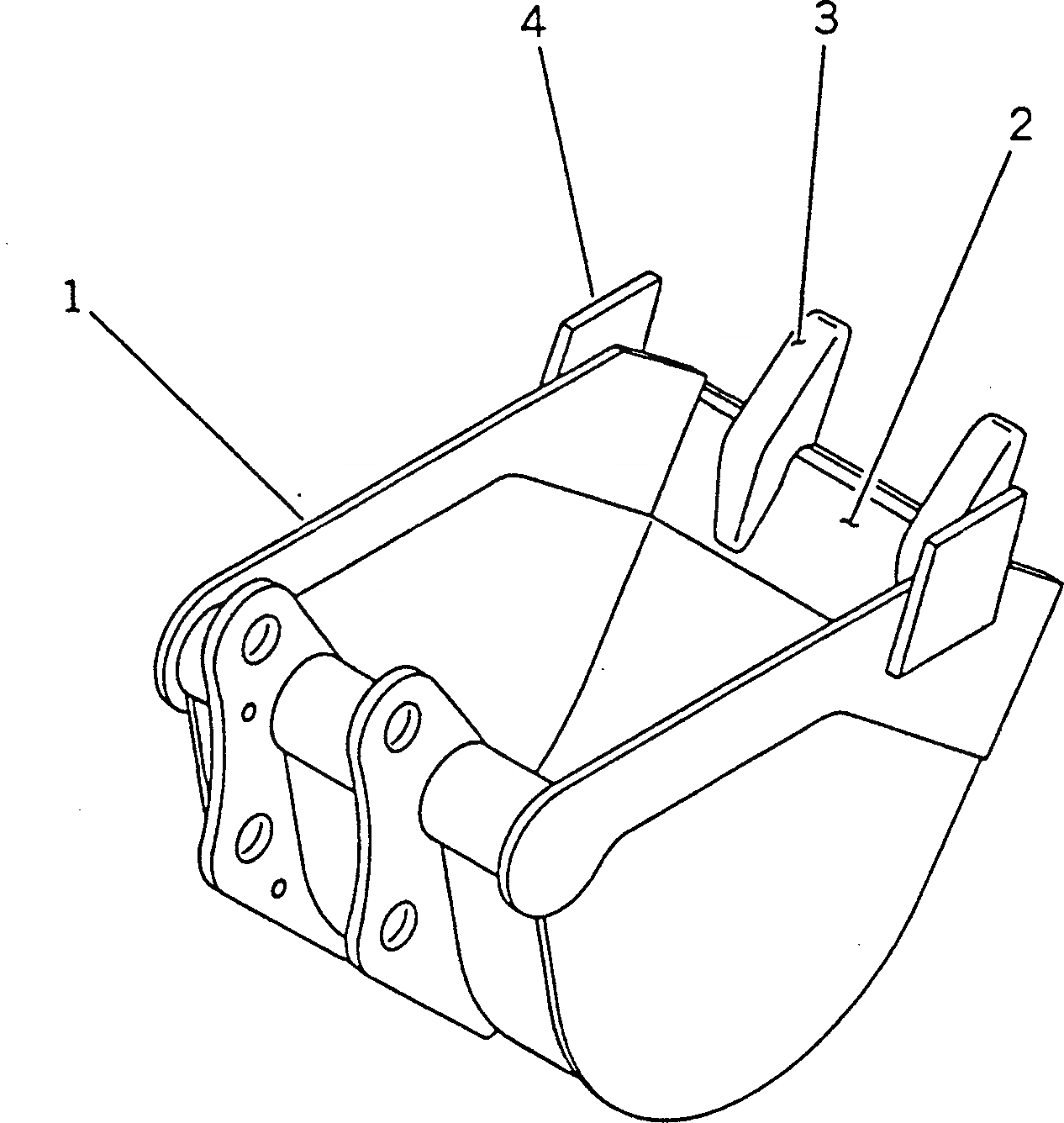
КОВШ¤ .M (MINI .M) MM
№
Артикул
Название
Примечание
Количество
1
21R-926-1110
BUCKET ASS'Y PAINT (1)
2
21R-926-1120
EDGE (WELDED)
3
10E-853-1420
TOOTH (WELDED)
4
21S-70-11460
EDGE,SIDE (WELDED)
Выбрано товаров: 0