Запчасти Komatsu PC02-1A ДОПОЛН. РАЗГРУЗ. КЛАПАН (ДЛЯ МОЛОТА) УПРАВЛ-Е РАБОЧИМ ОБОРУДОВАНИЕМ

Схема запчастей Komatsu PC02-1A - ДОПОЛН. РАЗГРУЗ. КЛАПАН (ДЛЯ МОЛОТА) УПРАВЛ-Е РАБОЧИМ ОБОРУДОВАНИЕМ
FIT
1:1
100%

Артикул

Название

Примечание

Количество

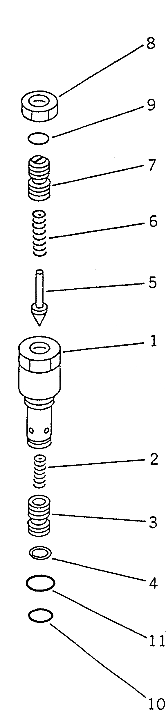
|1

700-28-61001

VALVE ASS'Y,RELIEF

1

SLEEVE

2

700-20-51430

SPRING

3

VALVE

4

700-20-51240

RING

5

700-80-61190

POPPET

6

700-20-51350

SPRING

7

700-20-51340

SCREW

8

01583-11408

NUT

9

07000-02011

O-RING

10

700-22-11410

O-RING

11

07002-02434

O-RING

Выбрано товаров: 12