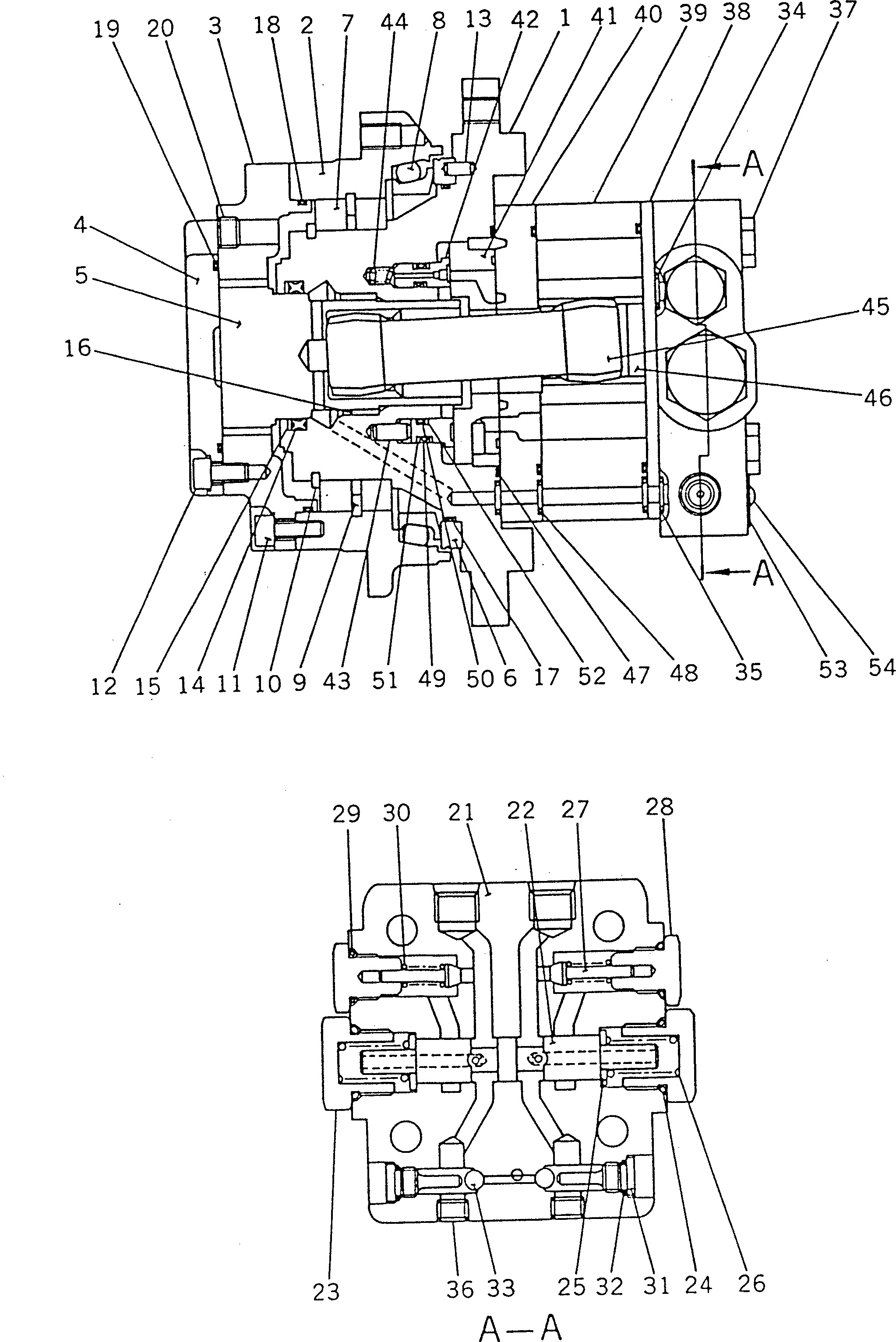
Запчасти Komatsu PC02-1A МОТОР ХОДА УПРАВЛ-Е РАБОЧИМ ОБОРУДОВАНИЕМ

Схема запчастей Komatsu PC02-1A - МОТОР ХОДА УПРАВЛ-Е РАБОЧИМ ОБОРУДОВАНИЕМ
FIT
1:1
100%

Артикул

Название

Примечание

Количество

|1

21R-60-14000

TRAVEL MOTOR ASS'Y

|1

21R-60-14100

CASE ASS'Y

1

21R-60-14120

CASE

2

21R-60-14130

WHEEL

3

21R-60-14140

COVER

4

21R-60-14150

COVER

5

21R-60-14160

SHAFT

6

21R-60-14170

PLATE,SEAL

7

21R-60-14180

BEARING

8

21R-60-14190

SEAL,OIL

9

21R-60-14210

RING

10

21R-60-14220

RING

11

21R-60-14230

BOLT

12

21R-60-14240

BOLT

13

21R-60-14250

PIN

14

21R-60-14320

RING,SEAL (K1)

15

21R-60-14330

RING,BACK-UP (K1)

16

21R-60-14340

BUSHING

17

21R-60-14350

O-RING (K1)

18

21R-60-14360

O-RING (K1)

19

21R-60-14370

O-RING (K1)

20

21R-60-14380

PLUG

|21

21R-60-14400

END COVER ASS'Y

21

21R-60-14410

COVER

22

21R-60-14420

SPOOL

23

21R-60-14430

PLUG

24

21R-60-14520

O-RING (K2)

25

21R-60-14530

WASHER

26

21R-60-14540

SPRING

27

21R-60-14550

POPPET

28

21R-60-14560

PLUG

29

21R-60-14570

O-RING (K2)

30

21R-60-14580

SPRING

31

21R-60-14590

PLUG

32

21R-60-14610

O-RING (K2)

33

21R-60-14620

BALL

34

21R-60-14630

O-RING (K2)

35

21R-60-14640

O-RING (K2)

36

21R-60-14650

PLUG

37

21R-60-14660

BOLT

38

21R-60-14670

SPACER

39

21R-60-14680

GEROLER ASS'Y

40

21R-60-14690

PLATE

41

21R-60-14710

VALVE

42

21R-60-14720

PLATE,BALANCING

43

21R-60-14730

PIN

44

21R-60-14740

SPRING

45

21R-60-14750

SHAFT,DRIVE

46

21R-60-14760

SPACER

47

21R-60-14820

O-RING (K3)

48

21R-60-14830

O-RING (K3)

49

21R-60-14840

O-RING (K3)

50

21R-60-14850

O-RING (K3)

51

21R-60-14860

RING,BACK-UP (K3)

52

21R-60-14870

RING,BACK-UP (K3)

53

21R-60-14880

PLATE¤ NAME

54

21R-60-14890

RIVET

K1

21R-60-14310

SEAL KIT,(A)

|14

21R-60-14320

RING,SEAL

|15

21R-60-14330

RING,BACK-UP

|17

21R-60-14350

O-RING

|18

21R-60-14360

O-RING

|19

21R-60-14370

O-RING

K2

21R-60-14510

SEAL KIT,(B)

|24

21R-60-14520

O-RING

|29

21R-60-14570

O-RING

|32

21R-60-14610

O-RING

|34

21R-60-14630

O-RING

|35

21R-60-14640

O-RING

K3

21R-60-14810

SEAL KIT,(C)

|47

21R-60-14820

O-RING

|48

21R-60-14830

O-RING

|49

21R-60-14840

O-RING

|50

21R-60-14850

O-RING

|51

21R-60-14860

RING,BACK-UP

|52

21R-60-14870

RING,BACK-UP

Выбрано товаров: 76