Запчасти Komatsu PC03-1 ПАНЕЛЬ ПРИБОРОВ КОМПОНЕНТЫ ДВИГАТЕЛЯ И ЭЛЕКТРИКА

Схема запчастей Komatsu PC03-1 - ПАНЕЛЬ ПРИБОРОВ КОМПОНЕНТЫ ДВИГАТЕЛЯ И ЭЛЕКТРИКА
FIT
1:1
100%

Артикул

Название

Примечание

Количество

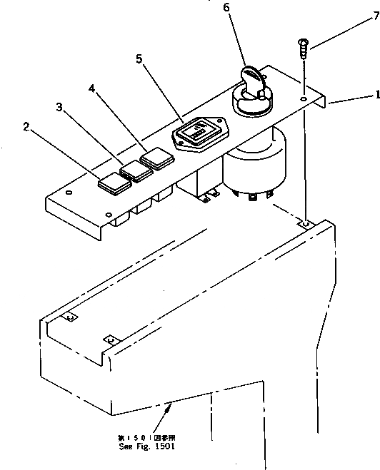
1

21S-06-11110

PANEL

2

FF7840-06440

LAMP,CHARGE

|2

08111-01230

BULB¤ 4W

|2

FF7840-06540

LENS

3

FF7840-06420

LAMP,HYDRAULIC

|3

08111-01230

BULB¤ 4W

|3

FF7840-06520

LENS

4

FF7840-06450

LAMP,HEAT TIMER

|4

08111-01230

BULB¤ 4W

|4

FF7840-06550

LENS

5

21S-06-11140

SERVICE METER

6

08086-20000

SWITCH,STARTING

7

20N-06-41130

SCREW

Выбрано товаров: 13