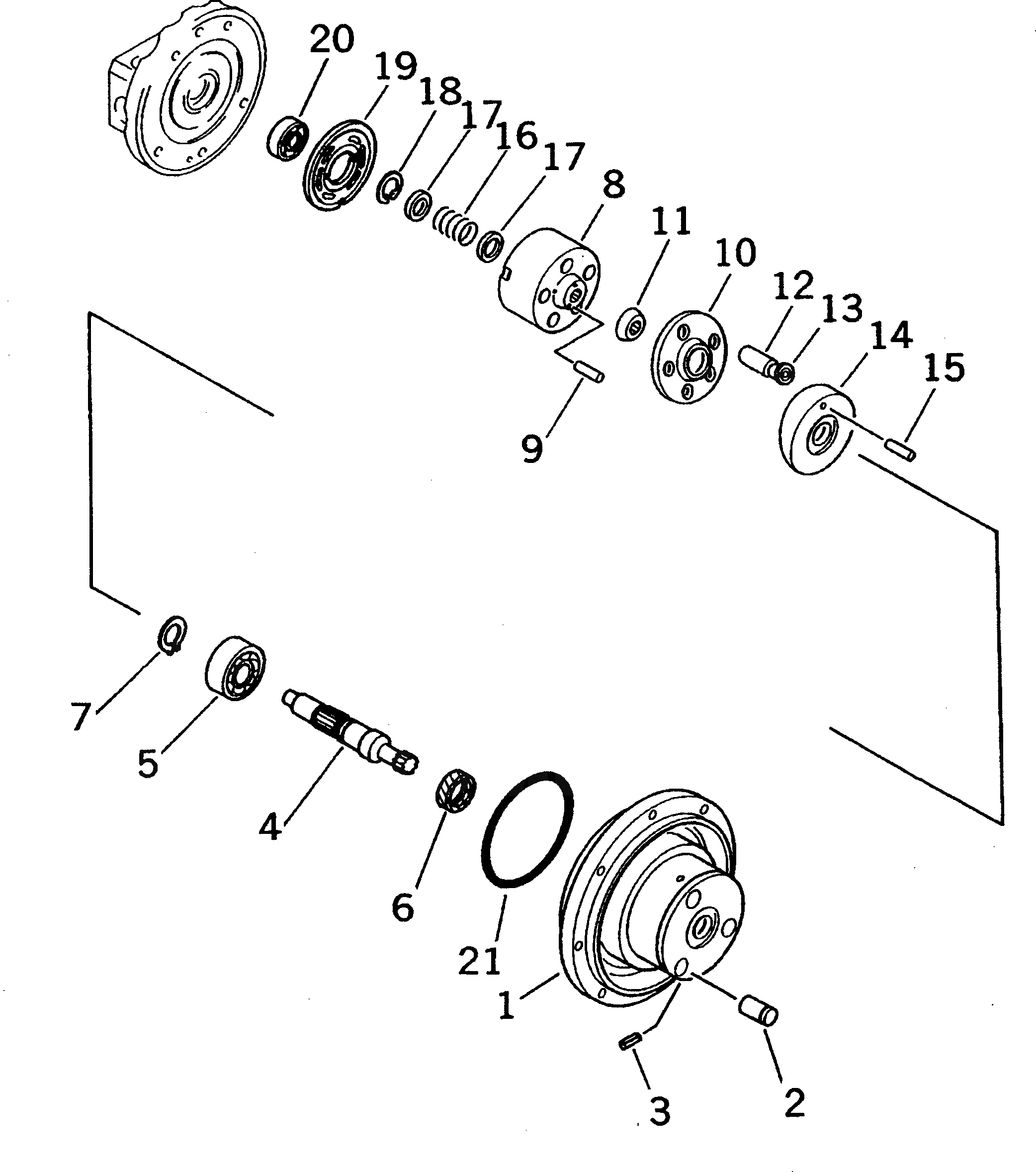
Запчасти Komatsu PC03-1 TRAVLE МОТОР (/) УПРАВЛ-Е РАБОЧИМ ОБОРУДОВАНИЕМ

Схема запчастей Komatsu PC03-1 - TRAVLE МОТОР (/) УПРАВЛ-Е РАБОЧИМ ОБОРУДОВАНИЕМ
FIT
1:1
100%

Артикул

Название

Примечание

Количество

|$0

21S-60-14000

MOTOR ASS'Y,TRAVEL

|$1

21S-60-14300

MOTOR AND VALVE A.

1

BODY

2

PIN

3

04025-00312

PIN,SPRING

4

SHAFT

5

06000-06202

BEARING

6

SEAL,OIL (K2)

7

04064-01510

RING,SNAP

8

BARREL,CYLINDER

9

PIN

10

HOLDER,SHOE

11

HOLDER,BARREL

12

PISTON

13

SHOE

14

PLATE,SWASH

15

20W-60-12770

PIN

16

SPRING

17

RETAINER

18

04065-02012

RING

19

PLATE,VALVE

20

06000-06000

BEARING

21

07000-12095

O-RING (K2)

Выбрано товаров: 23