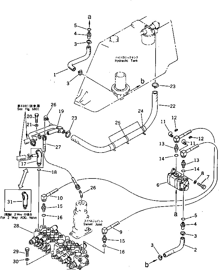
Запчасти Komatsu PC03-1 ГИДРОЛИНИЯ (ВСАСЫВ. И ВОЗВРАТ. ЛИНИЯ) (С НАВЕСН. ОБОРУД) УПРАВЛ-Е РАБОЧИМ ОБОРУДОВАНИЕМ

Схема запчастей Komatsu PC03-1 - ГИДРОЛИНИЯ (ВСАСЫВ. И ВОЗВРАТ. ЛИНИЯ) (С НАВЕСН. ОБОРУД) УПРАВЛ-Е РАБОЧИМ ОБОРУДОВАНИЕМ
FIT
1:1
100%

Артикул

Название

Примечание

Количество

1

21S-62-12110

HOSE

2

21S-62-12120

HOSE

3

07281-00259

CLAMP

4

21S-62-12130

NIPPLE

5

07000-12014

O-RING

6

21S-60-12000

PUMP ASS'Y,(SEE FIG.6101)

7

01010-50825

BOLT

8

01643-30823

WASHER

9

21S-62-12210

HOSE

10

21S-62-12220

HOSE

11

21S-62-12240

ELBOW

12

07042-30108

PLUG

13

20M-62-11310

NIPPLE

14

07000-12014

O-RING

15

10E-853-6220

NIPPLE

16

07002-12034

O-RING

17

21S-973-1320

ELBOW

18

07002-12034

O-RING

19

21S-973-1230

TUBE

20

01010-50816

BOLT

21

01643-30823

WASHER

22

07261-22010

HOSE

23

07281-00359

CLAMP

24

21S-62-12250

SHEET

25

08034-00536

BAND

26

20M-62-32260

ELBOW

27

21S-62-12440

HOSE

28

709-38-12400

VALVE ASS'Y,(SEE FIG.6201)

28

709-38-11903

VALVE ASS'Y,(SEE FIG.6201)

28

709-38-11902

VALVE ASS'Y,(SEE FIG.6201)

29

01010-50830

BOLT

30

01643-30823

WASHER

31

20W-62-12120

ELBOW

Выбрано товаров: 33