Запчасти Komatsu PC03-1 СТРЕЛА РАБОЧЕЕ ОБОРУДОВАНИЕ

Схема запчастей Komatsu PC03-1 - СТРЕЛА РАБОЧЕЕ ОБОРУДОВАНИЕ
FIT
1:1
100%

Артикул

Название

Примечание

Количество

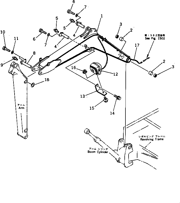
G-1

21S-70-X6210

BOOM SUB GROUP

|$2

21S-70-00620

BOOM ASS'Y PAINT(1)

1

BOOM

2

07143-10303

BUSHING

3

07145-00030

SEAL,DUST

G-2

21S-70-X6220

BOOM PIN GROUP

4

21S-70-11230

PIN PAINT(1)

5

07020-00000

FITTING,GREASE

6

01010-51020

BOLT

7

01643-31032

WASHER

8

21S-70-11220

PIN PAINT(1)

9

07020-00000

FITTING,GREASE

10

01010-51018

BOLT

11

01643-31032

WASHER

G-3

21S-70-X6230

BOOM WIRING GROUP

12

21S-06-11240

LAMP ASS'Y

12

08105-01220

BULB, 23W

12

21S-06-11290

LENS

13

21S-06-11250

BRACKET PAINT(1)

14

01435-01016

BOLT

15

01435-00816

BOLT

16

01584-00806

NUT

17

21S-06-11230

CABLE ASS'Y

18

21S-70-11440

SPACER, 1.0MM

Выбрано товаров: 24