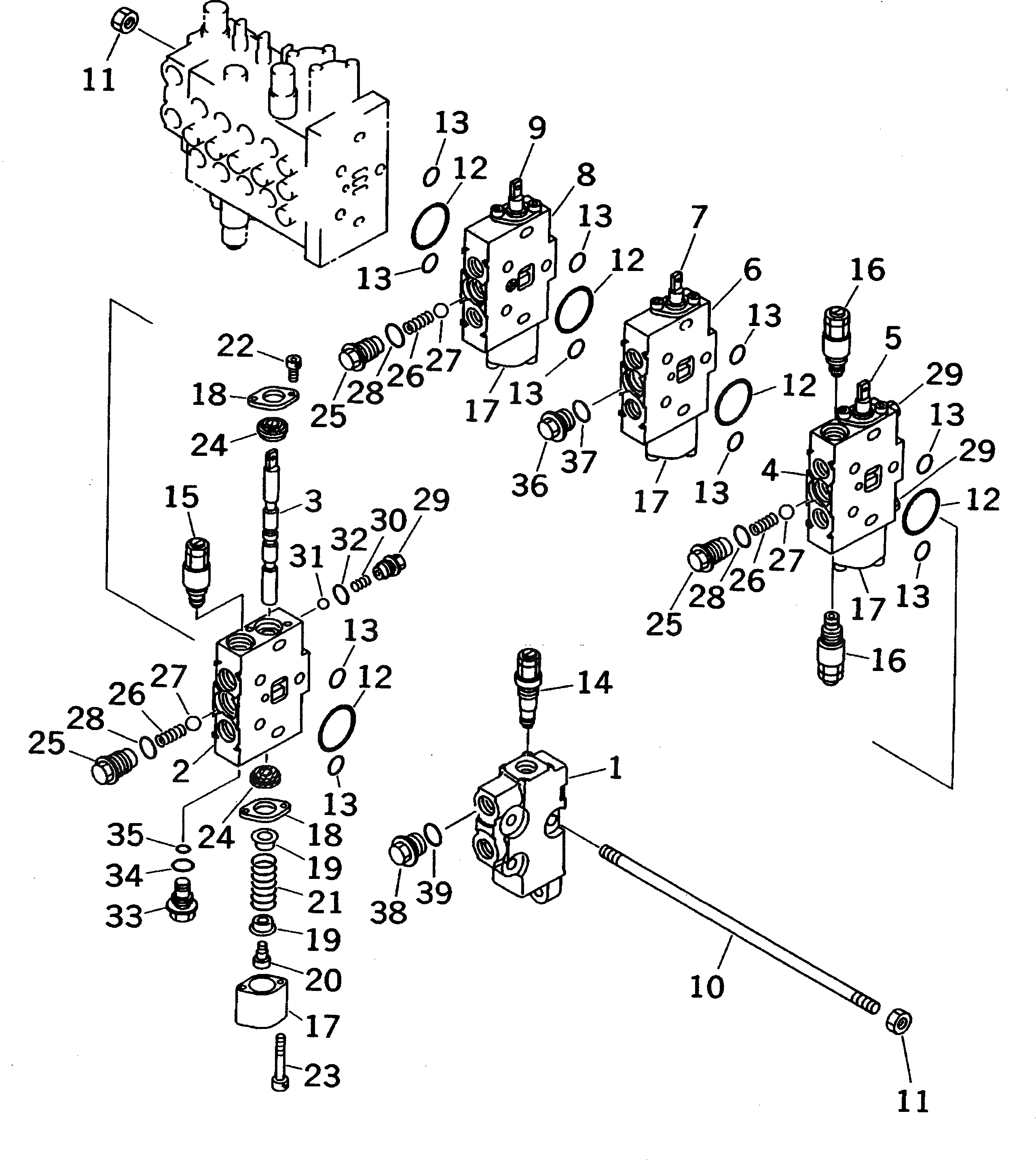
Запчасти Komatsu PC03-2 ГИДРАВЛ УПРАВЛЯЮЩ. КЛАПАН (9-СЕКЦИОНН.) (/) (ВНУТР. ЧАСТИ) ОСНОВН. КОМПОНЕНТЫ И РЕМКОМПЛЕКТЫ

Схема запчастей Komatsu PC03-2 - ГИДРАВЛ УПРАВЛЯЮЩ. КЛАПАН (9-СЕКЦИОНН.) (/) (ВНУТР. ЧАСТИ) ОСНОВН. КОМПОНЕНТЫ И РЕМКОМПЛЕКТЫ
FIT
1:1
100%

Артикул

Название

Примечание

Количество

|$1

724-00-14000

VALVE ASS'Y

1

724-00-31410

BLOCK

|$4

724-00-33910

SPOOL KIT,ARM

2

BLOCK,ARM

3

SPOOL,ARM

|$7

724-00-33820

SPOOL KIT,SWING

4

BLOCK,SWING

5

SPOOL,SWING

|$10

724-00-33930

SPOOL KIT,L.H. TRAVEL

6

BLOCK,L.H. TRAVEL

7

SPOOL,L.H. TRAVEL

|$13

724-00-33840

SPOOL KIT,BLADE

8

BLOCK,BLADE

9

SPOOL,BLADE

10

724-00-31780

BOLT,STUD

11

01580-00806

NUT

12

724-00-81510

O-RING

13

07000-12011

O-RING

14

724-00-55000

VALVE ASS'Y,MAIN RELIEF

15

724-00-61000

VALVE ASS'Y,SAFETY

16

724-00-57000

VALVE ASS'Y,SWING RELIEF

17

724-00-31710

COVER

18

724-00-31720

PLATE

19

724-00-31730

RETAINER

20

724-00-31740

BOLT

21

724-00-31750

SPRING

22

01252-30510

BOLT

23

01252-30540

BOLT

24

724-00-31760

SEAL,OIL

25

724-00-81110

SLEEVE

26

724-00-81120

SPRING

27

724-00-81130

BALL

28

07002-11623

O-RING

29

724-00-81210

SLEEVE

30

724-00-81220

SPRING

31

724-00-81230

BALL

32

07002-11223

O-RING

33

724-00-81320

PLUG

34

07002-11423

O-RING

35

724-00-51150

O-RING

36

724-00-81330

PLUG

37

07002-11623

O-RING

38

07040-11409

PLUG

39

07002-01423

O-RING

Выбрано товаров: 0