Запчасти Komatsu PC03-2 ГИДРОМОЛОТ РУКОЯТЬ РАБОЧЕЕ ОБОРУДОВАНИЕ

Схема запчастей Komatsu PC03-2 - ГИДРОМОЛОТ РУКОЯТЬ РАБОЧЕЕ ОБОРУДОВАНИЕ
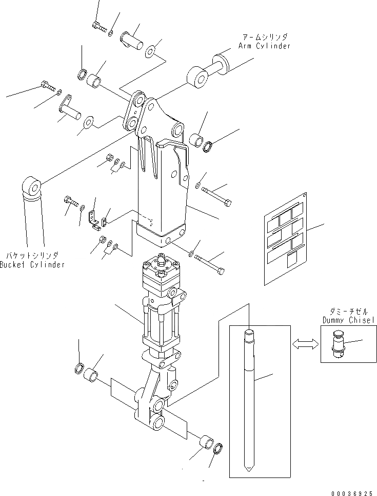
1
1A
2
2
3
3
4
5
6
7
7
8
8
9
10
11
11
12
12
13
13
14
15
16
17
17
18
18
19
19
20
20
21
FIT
1:1
100%

Артикул

Название

Примечание

Количество

|$1

21S-970-2061

ARM ASS'Y

1

ARM

1A

21S-970-2880

SEAT (WELDED)

2

20A-70-11720

BUSHING

3

20A-70-12211

SEAL,DUST

4

21S-970-2111

BREAKER

5

21S-970-2120

CHISEL

6

21S-970-2150

PLUG

7

20A-70-11720

BUSHING

8

20A-70-12211

SEAL,DUST

9

01011-82050

BOLT

10

01011-82060

BOLT

11

01580-12016

NUT

12

21S-970-2620

WASHER

13

01643-32060

WASHER

14

21S-970-2860

BRACKET

15

01010-B1020

BOLT

16

01643-31032

WASHER

17

20A-70-11740

PIN

18

01010-81020

BOLT

19

01643-31032

WASHER

20

21R-70-11380

SPACER, 1.0MM

21

21S-98-25110

PLATE

Выбрано товаров: 23