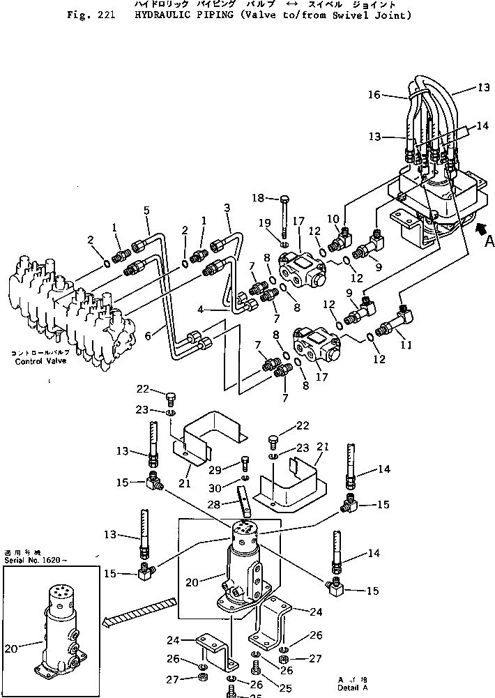
Запчасти Komatsu PC05-1 ГИДРОЛИНИЯ (КЛАПАН TO/FROM ПОВОРОТНОЕ СОЕДИНЕНИЕ) ХОД И КОНЕЧНАЯ ПЕРЕДАЧА

Схема запчастей Komatsu PC05-1 - ГИДРОЛИНИЯ (КЛАПАН TO/FROM ПОВОРОТНОЕ СОЕДИНЕНИЕ) ХОД И КОНЕЧНАЯ ПЕРЕДАЧА
FIT
1:1
100%

Артикул

Название

Примечание

Количество

1

20M-62-11310

NIPPLE

2

07000-12014

O-RING

3

20M-62-11410

TUBE

4

20M-62-11420

TUBE

5

20M-62-11430

TUBE

6

20M-62-11440

TUBE

7

07230-10315

UNION

8

07002-12034

O-RING

9

20R-62-11311

ELBOW

10

07235-10315

ELBOW

11

20R-62-11360

ELBOW

12

07002-12034

O-RING

13

20M-62-11450

HOSE

14

20M-62-11460

HOSE

15

101-852-7083

ELBOW

16

08034-00519

BAND

17

20M-60-15001

VALVE ASS'Y

18

6128-11-4820

BOLT

19

01602-00825

WASHER,SPRING

20

20M-60-14001

SWIVEL JOINT ASS'Y

|20

20M-60-14000

SWIVEL JOINT ASS'Y

21

20M-62-12240

COVER

22

01010-31020

BOLT

23

01602-01030

WASHER,SPRING

24

20M-62-12110

BRACKET

25

01010-31025

BOLT

26

01602-01030

WASHER,SPRING

27

01580-11008

NUT

28

20M-62-11470

BAR

29

01010-30830

BOLT

30

01602-00825

WASHER,SPRING

Выбрано товаров: 31