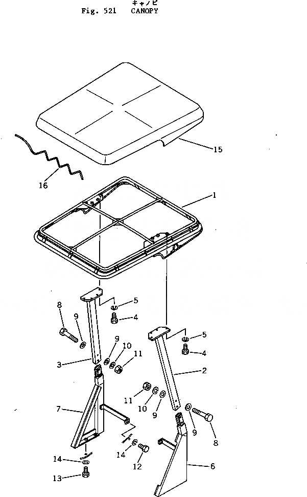
Запчасти Komatsu PC05-1 НАВЕС ОСНОВНАЯ РАМА И КАБИНА

Схема запчастей Komatsu PC05-1 - НАВЕС ОСНОВНАЯ РАМА И КАБИНА
FIT
1:1
100%

Артикул

Название

Примечание

Количество

1

20R-54-22111

ROOF

2

20M-54-13160

STAY,L.H.

3

20M-54-13170

STAY,R.H.

4

01010-31020

BOLT

5

01602-01030

WASHER,SPRING

6

20M-54-13110

BRACKET,L.H.

7

20M-54-13120

BRACKET,R.H.

8

01010-31250

BOLT

9

01643-01232

WASHER

10

01602-01236

WASHER,SPRING

11

01580-01210

NUT

12

01010-31020

BOLT

13

01010-31025

BOLT

14

01602-01030

WASHER,SPRING

15

20M-54-13180

SEAT

16

20R-54-22130

ROPE

Выбрано товаров: 16