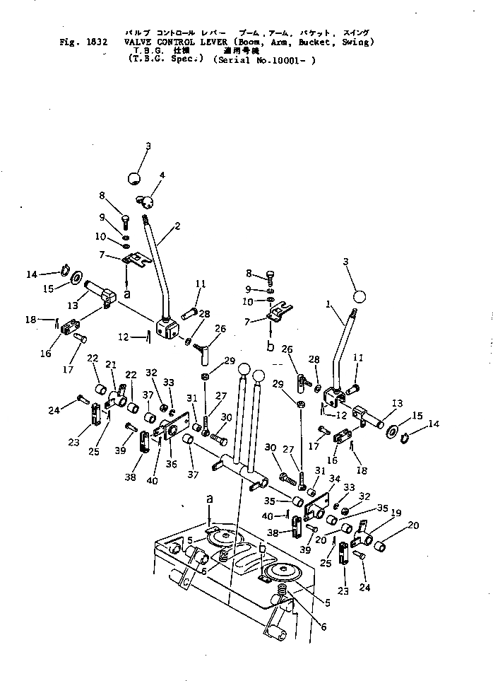
Запчасти Komatsu PC05-1 КЛАПАН РЫЧАГ УПРАВЛ-Я (СТРЕЛА¤РУКОЯТЬ¤КОВШ¤ПОВОРОТН.) (T.B.G. СПЕЦ-Я.)(№-) ОПЦИОННЫЕ КОМПОНЕНТЫ

Схема запчастей Komatsu PC05-1 - КЛАПАН РЫЧАГ УПРАВЛ-Я (СТРЕЛА¤РУКОЯТЬ¤КОВШ¤ПОВОРОТН.) (T.B.G. СПЕЦ-Я.)(№-) ОПЦИОННЫЕ КОМПОНЕНТЫ
FIT
1:1
100%

Артикул

Название

Примечание

Количество

1

20M-43-11130

LEVER,L.H.

2

20M-43-11140

LEVER,R.H.

3

20R-43-11280

KNOB

4

20T-06-11360

BRACKET

5

20T-43-11360

COVER

6

09340-10130

SPRING

7

20T-43-11270

HINGE

8

01010-30616

BOLT

9

01602-00619

WASHER,SPRING

10

01640-00610

WASHER

11

20T-43-11310

PIN

12

04050-13020

PIN,COTTER

13

20N-43-21180

LEVER

14

04064-02012

RING,SNAP

15

01640-02032

WASHER

16

04213-20830

YOKE

17

04205-10822

PIN

18

04050-12012

PIN,COTTER

|$18

20M-43-00020

LEVER ASS'Y,L.H.

19

LEVER,L.H.

20

20T-43-11280

BUSHING

|$21

20M-43-00070

LEVER ASS'Y,R.H.

21

LEVER,R.H.

22

20T-43-11280

BUSHING

23

20M-43-11310

YOKE

24

04205-10820

PIN

25

04050-12012

PIN,COTTER

26

20T-43-11320

JOINT

27

20T-43-11330

END,ROD

28

01643-01032

WASHER

29

01580-11008

NUT

30

01010-31050

BOLT

31

20M-43-11190

SPACER

32

01580-11008

NUT

33

01602-01030

WASHER,SPRING

|$35

20M-43-00030

LEVER ASS'Y,L.H.

34

LEVER,L.H.

35

20T-43-11280

BUSHING

|$38

20M-43-00060

LEVER ASS'Y,R.H.

36

LEVER,R.H.

37

20T-43-11280

BUSHING

38

20M-43-11310

YOKE

39

04205-10820

PIN

40

04050-12012

PIN,COTTER

Выбрано товаров: 44