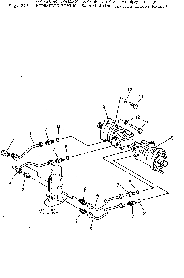
Запчасти Komatsu PC05-1 ГИДРОЛИНИЯ (ПОВОРОТНОЕ СОЕДИНЕНИЕ TO/FROM МОТОР ХОДА) ХОД И КОНЕЧНАЯ ПЕРЕДАЧА

Схема запчастей Komatsu PC05-1 - ГИДРОЛИНИЯ (ПОВОРОТНОЕ СОЕДИНЕНИЕ TO/FROM МОТОР ХОДА) ХОД И КОНЕЧНАЯ ПЕРЕДАЧА
FIT
1:1
100%

Артикул

Название

Примечание

Количество

1

20M-62-21110

ELBOW

2

101-852-7775

NIPPLE

3

20M-62-12140

TUBE

4

20M-62-12150

TUBE

5

20M-62-12120

TUBE

6

20M-62-12130

TUBE

7

20N-62-12160

NIPPLE

8

07000-12018

O-RING

9

20N-60-16201

TRAVEL MOTOR ASS'Y

10

01252-41285

BOLT

11

01252-41240

BOLT

12

01602-01236

WASHER,SPRING

Выбрано товаров: 0