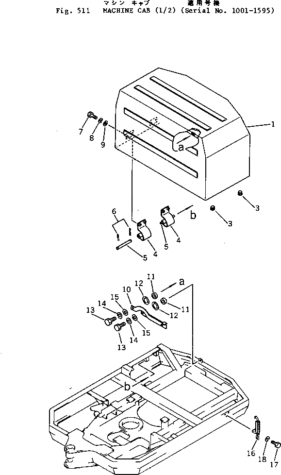
Запчасти Komatsu PC05-1 КАБИНА (/)(№-9) ОСНОВНАЯ РАМА И КАБИНА

Схема запчастей Komatsu PC05-1 - КАБИНА (/)(№-9) ОСНОВНАЯ РАМА И КАБИНА
FIT
1:1
100%

Артикул

Название

Примечание

Количество

1

20M-54-11110

COVER ASS'Y

3

203-54-32260

STOPPER

4

20M-54-11130

HINGE

5

20M-54-11140

SHAFT

6

04050-03018

PIN,COTTER

7

01010-30825

BOLT

8

01602-20825

WASHER,SPRING

9

01643-30823

WASHER

10

20M-54-11150

STAY

11

20M-54-11160

COLLAR

12

20M-54-11170

WASHER,WAVE

13

01010-31230

BOLT

14

01602-01236

WASHER,SPRING

15

01643-31232

WASHER

16

20M-54-12110

HOOK

17

01010-30616

BOLT

18

01602-00619

WASHER,SPRING

Выбрано товаров: 17