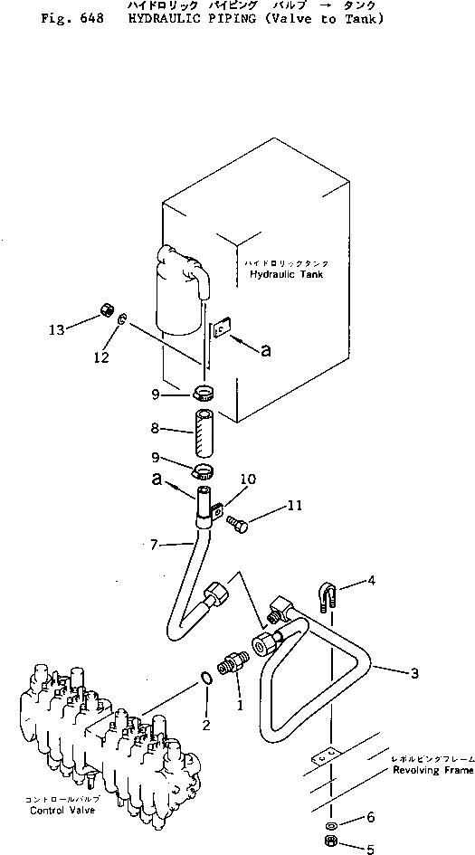
Запчасти Komatsu PC05-1 ГИДРОЛИНИЯ (КЛАПАН - БАК) ГИДРАВЛИКА

Схема запчастей Komatsu PC05-1 - ГИДРОЛИНИЯ (КЛАПАН - БАК) ГИДРАВЛИКА
FIT
1:1
100%

Артикул

Название

Примечание

Количество

1

101-965-5120

NIPPLE

2

07000-12018

O-RING

3

20M-62-11810

TUBE

4

07283-22236

CLIP

5

01598-01011

NUT

6

01643-01032

WASHER

7

20M-62-11820

TUBE

8

07260-22009

HOSE

9

07281-00359

CLAMP

10

101-854-8445

CLAMP

11

01010-31020

BOLT

12

01602-01030

WASHER,SPRING

13

01580-11008

NUT

Выбрано товаров: 13