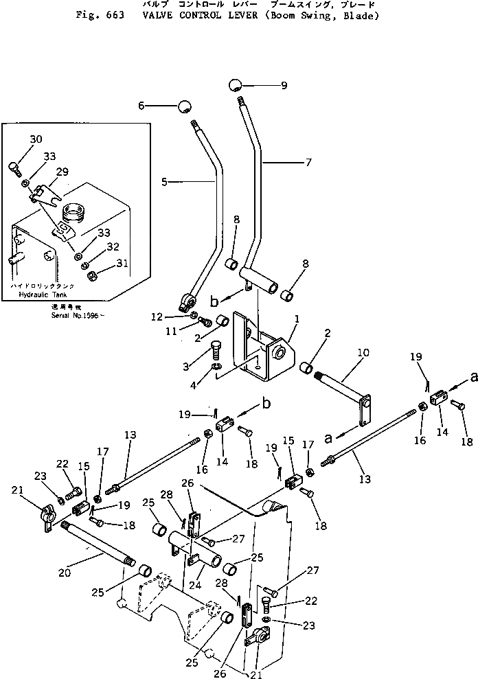
Запчасти Komatsu PC05-1 КЛАПАН РЫЧАГ УПРАВЛ-Я (СТРЕЛА¤ПОВОРОТН.¤ОТВАЛ) ГИДРАВЛИКА

Схема запчастей Komatsu PC05-1 - КЛАПАН РЫЧАГ УПРАВЛ-Я (СТРЕЛА¤ПОВОРОТН.¤ОТВАЛ) ГИДРАВЛИКА
FIT
1:1
100%

Артикул

Название

Примечание

Количество

|$0

20M-43-00080

BRACKET ASS'Y

1

BRACKET

2

20T-43-11280

BUSHING

3

01010-31025

BOLT

4

01602-01030

WASHER,SPRING

5

20M-43-11550

LEVER

6

20R-43-11290

KNOB

|$7

20M-43-00090

LEVER ASS'Y

7

LEVER

8

20T-43-11280

BUSHING

9

20R-43-11280

KNOB

10

20M-43-11560

SHAFT

11

01010-30830

BOLT

12

01602-00825

WASHER,SPRING

13

04248-30833

ROD

14

04210-20832

YOKE

15

04220-20832

YOKE

16

01580-10806

NUT

17

01508-20805

NUT,L.H. THREAD

18

04205-10822

PIN

19

04050-12012

PIN,COTTER

20

20M-43-11540

SHAFT

21

20M-43-11530

LEVER

22

01010-30830

BOLT

23

01602-00825

WASHER,SPRING

|$25

20M-43-00100

LEVER ASS'Y

24

LEVER

25

20T-43-11280

BUSHING

26

20M-43-11310

YOKE

27

04205-10820

PIN

28

04050-12012

PIN,COTTER

29

20T-43-11270

HINGE

30

01010-30616

BOLT

31

01580-10605

NUT

32

01602-00619

WASHER,SPRING

33

01640-00610

WASHER

Выбрано товаров: 36