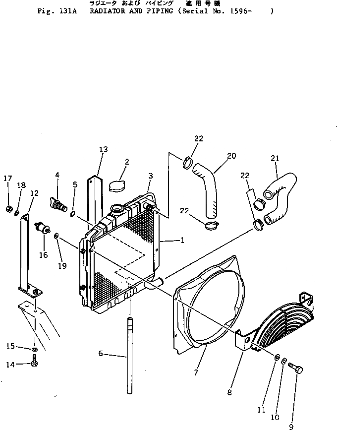
Запчасти Komatsu PC05-1 РАДИАТОР И ТРУБЫ(№9-) КОМПОНЕНТЫ ДВИГАТЕЛЯ И ЭЛЕКТРИКА

Схема запчастей Komatsu PC05-1 - РАДИАТОР И ТРУБЫ(№9-) КОМПОНЕНТЫ ДВИГАТЕЛЯ И ЭЛЕКТРИКА
FIT
1:1
100%

Артикул

Название

Примечание

Количество

|$0

20M-03-11101

RADIATOR ASS'Y

1

CORE

2

20M-03-11130

CAP

3

20M-03-11140

HOSE

4

20N-03-11181

PLUG,DRAIN

5

07000-01007

O-RING

6

07270-00810

TUBE

7

20M-03-11120

SHROUD

8

20M-03-11190

NET

9

01010-30816

BOLT

10

01602-00825

WASHER,SPRING

11

01640-20816

WASHER

12

20M-03-12210

BRACKET

13

20M-03-12220

BRACKET

14

01010-31025

BOLT

15

01602-01030

WASHER,SPRING

16

20R-03-11190

CUSHION

17

01580-00806

NUT

18

01602-00825

WASHER,SPRING

19

01640-20816

WASHER

20

20M-03-12240

HOSE

21

20M-03-12230

HOSE

22

07280-03826

CLAMP

Выбрано товаров: 23