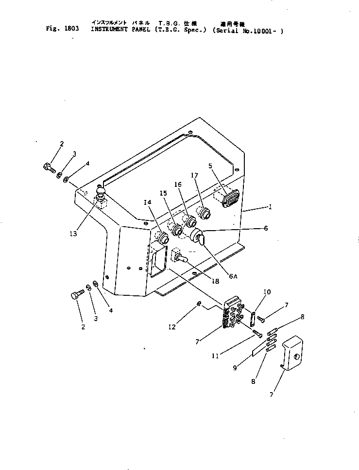
Запчасти Komatsu PC05-1 ПАНЕЛЬ ПРИБОРОВ (T.B.G. СПЕЦ-Я.)(№-) ОПЦИОННЫЕ КОМПОНЕНТЫ

Схема запчастей Komatsu PC05-1 - ПАНЕЛЬ ПРИБОРОВ (T.B.G. СПЕЦ-Я.)(№-) ОПЦИОННЫЕ КОМПОНЕНТЫ
FIT
1:1
100%

Артикул

Название

Примечание

Количество

1

20M-06-19110

DASHBOARD

2

01010-30820

BOLT

3

01602-00825

WASHER,SPRING

4

01643-00823

WASHER

5

FF7810-06350

METER,SERVICE

6

08086-10000

SWITCH,STARTING

6A

KEY

7

08043-04000

BOX,FUSE

8

08040-02000

FUSE, 20A

9

08040-01000

FUSE, 10A

10

150-06-14290

TERMINAL

11

01220-40520

SCREW

12

01601-00513

WASHER,SPRING

13

WB8710-21220

SWITCH,LAMP

14

10E-06-22150

LAMP,BATTERY CHARGE

15

20M-06-19310

LAMP,WATER TEMPERATURE

16

10E-06-22140

LAMP,OIL CAUTION

17

20S-06-14130

LAMP,THERMOSTAT

18

20N-06-11120

SWITCH,PRESSURE SWITCH

Выбрано товаров: 19