Запчасти Komatsu PC05-5 ПАНЕЛЬ ПРИБОРОВ(№-) КОМПОНЕНТЫ ДВИГАТЕЛЯ И ЭЛЕКТРИКА

Схема запчастей Komatsu PC05-5 - ПАНЕЛЬ ПРИБОРОВ(№-) КОМПОНЕНТЫ ДВИГАТЕЛЯ И ЭЛЕКТРИКА
FIT
1:1
100%

Артикул

Название

Примечание

Количество

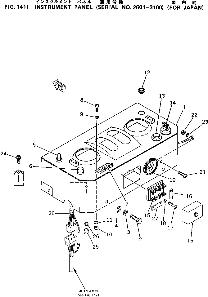
1

20M-06-31111

DASHBOARD

2

01010-50820

BOLT

3

01602-20825

WASHER,SPRING

4

01643-30823

WASHER

5

20N-06-11120

SWITCH,LAMP

6

08064-10000

SWITCH,HORN

7

20M-06-31120

LAMP,COMBINATION

8

01220-40516

SCREW

9

01641-20508

WASHER

10

01580-10504

NUT

11

01601-20513

WASHER,SPRING

12

20M-06-31150

PLUG

13

20S-06-14130

LAMP,GLOW PLUG

13

08111-01230

BULB, 4W

14

08086-10000

SWITCH,STARTING

15

08043-04000

BOX,FUSE

16

08040-01000

FUSE, 10A

16

08040-02000

FUSE, 20A

17

01220-40520

SCREW

18

01601-00513

WASHER,SPRING

19

08687-21201

METER,SERVICE

20

20M-06-32111

WIRE ASS'Y

21

01220-40516

SCREW

22

01580-10504

NUT

23

01601-20513

WASHER,SPRING

24

01010-50616

BOLT

25

01580-10605

NUT

26

01602-20619

WASHER,SPRING

27

150-06-14290

TERMINAL

Выбрано товаров: 29