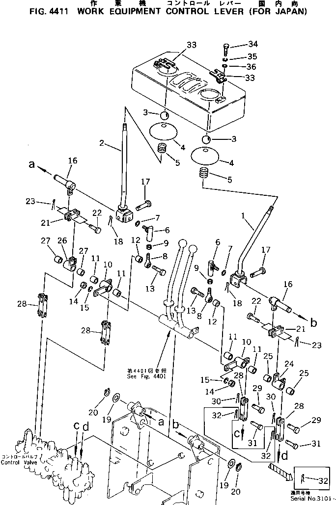
Запчасти Komatsu PC05-5 РЫЧАГ УПРАВЛЕНИЯ РАБОЧИМ ОБОРУДОВАНИЕМ ПОВОРОТН. И СИСТЕМА УПРАВЛЕНИЯ

Схема запчастей Komatsu PC05-5 - РЫЧАГ УПРАВЛЕНИЯ РАБОЧИМ ОБОРУДОВАНИЕМ ПОВОРОТН. И СИСТЕМА УПРАВЛЕНИЯ
FIT
1:1
100%

Артикул

Название

Примечание

Количество

1

20M-43-31130

LEVER,L.H.

2

20M-43-31140

LEVER,R.H.

3

20R-43-11280

KNOB

4

20T-43-11360

COVER

5

09340-10130

SPRING

6

20T-43-11320

JOINT

7

01643-31032

WASHER

8

20T-43-11330

END

9

01580-11008

NUT

|$9

20M-43-30030

LEVER ASS'Y

10

LEVER

11

09350-02020

BUSHING

12

20M-43-11190

SPACER

13

01010-51050

BOLT

14

01580-11008

NUT

15

01602-21030

WASHER

16

20M-43-31250

LEVER

17

20T-43-11310

PIN

18

04050-13020

PIN

19

01640-22032

WASHER

20

04064-02012

RING

21

04213-20830

YOKE

22

04205-10822

PIN

23

04050-12015

PIN

|$24

20M-43-30020

LEVER ASS'Y,L.H.

24

LEVER

25

09350-02020

BUSHING

|$27

20M-43-30070

LEVER ASS'Y,R.H.

26

LEVER

27

09350-02020

BUSHING

28

20M-43-31310

YOKE

29

04205-10820

PIN

30

04050-12015

PIN

31

04205-10518

PIN

32

04052-10530

PIN

32

04050-11210

PIN

33

20T-43-11270

HINGE

34

01010-50616

BOLT

35

01602-20619

WASHER

36

01640-20610

WASHER

Выбрано товаров: 40