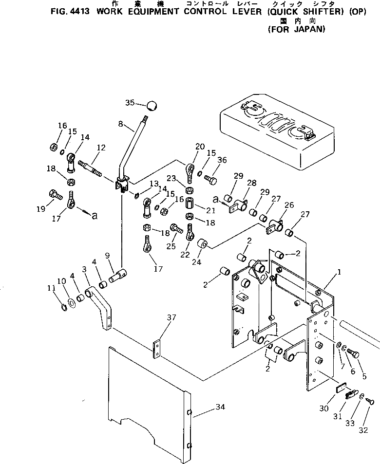
Запчасти Komatsu PC05-5 РЫЧАГ УПРАВЛЕНИЯ РАБОЧИМ ОБОРУДОВАНИЕМ (QUICK SHIFTER) ПОВОРОТН. И СИСТЕМА УПРАВЛЕНИЯ

Схема запчастей Komatsu PC05-5 - РЫЧАГ УПРАВЛЕНИЯ РАБОЧИМ ОБОРУДОВАНИЕМ (QUICK SHIFTER) ПОВОРОТН. И СИСТЕМА УПРАВЛЕНИЯ
FIT
1:1
100%

Артикул

Название

Примечание

Количество

|$0

20M-43-33041

BRACKET ASS'Y

|$1

20M-43-33040

BRACKET ASS'Y

1

BRACKET

1

BRACKET

2

09350-02020

BUSHING

|$5

20M-43-33010

BRACKET ASS'Y

3

BRACKET

4

09350-02015

BUSHING

5

01010-51025

BOLT

6

01602-21030

WASHER

7

01643-31032

WASHER

8

20M-43-33310

LEVER

9

20M-43-33340

PIN

10

01640-22032

WASHER

11

04064-02012

RING

12

20M-43-33350

SHAFT

13

04064-01210

RING

14

04250-80847

END

15

04254-00823

SPACER

16

01580-10806

NUT

17

04252-20853

END

18

01580-10806

NUT

19

01010-50820

BOLT

20

20M-43-33420

END

21

20M-43-33430

ADAPTER

22

20M-43-33410

END

23

01508-20805

NUT

24

20M-43-33370

SPACER

25

01010-50835

BOLT

|$29

20M-43-33020

LEVER ASS'Y

26

LEVER

27

09350-02015

BUSHING

|$32

20M-43-33030

LEVER ASS'Y

28

LEVER

29

09350-02015

BUSHING

30

20M-43-33140

PLATE

31

20M-43-33210

CATCH

32

01235-40310

SCREW

33

01601-20307

WASHER

34

20M-43-33120

COVER

35

20R-43-11280

KNOB

36

01010-50825

BOLT

37

20M-43-33150

PLATE

Выбрано товаров: 0