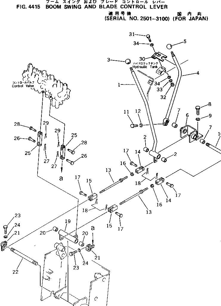
Запчасти Komatsu PC05-5 ПОВОРОТ СТРЕЛЫ И РЫЧАГ УПРАВЛЕНИЯ ОТВАЛОМ(№-) ПОВОРОТН. И СИСТЕМА УПРАВЛЕНИЯ

Схема запчастей Komatsu PC05-5 - ПОВОРОТ СТРЕЛЫ И РЫЧАГ УПРАВЛЕНИЯ ОТВАЛОМ(№-) ПОВОРОТН. И СИСТЕМА УПРАВЛЕНИЯ
FIT
1:1
100%

Артикул

Название

Примечание

Количество

|$0

20M-43-30090

LEVER ASS'Y

1

LEVER

2

09350-02020

BUSHING

3

20R-43-11280

KNOB

4

20M-43-31180

LEVER

5

20R-43-11290

KNOB

|$6

20M-43-30080

BRACKET ASS'Y

6

BRACKET

7

09350-02020

BUSHING

8

01010-51020

BOLT

9

01602-21030

WASHER

10

20M-43-31561

SHAFT

11

01010-50830

BOLT

12

01602-20825

WASHER

13

04248-30826

ROD

14

04211-20844

YOKE

15

04221-20844

YOKE

16

01580-10806

NUT

17

04205-10822

PIN

18

04050-12015

PIN

|$20

20M-43-30100

LEVER ASS'Y

19

LEVER

20

09350-02020

BUSHING

21

20M-43-31530

LEVER

22

20M-43-31540

SHAFT

23

01010-50830

BOLT

24

01602-20825

WASHER

25

20M-43-31310

YOKE

26

04205-10820

PIN

27

04050-12015

PIN

28

04205-10518

PIN

29

04050-11210

PIN

30

20T-43-11270

HINGE

31

01010-50616

BOLT

32

01580-10605

NUT

33

01602-20619

WASHER

34

01640-20610

WASHER

Выбрано товаров: 0