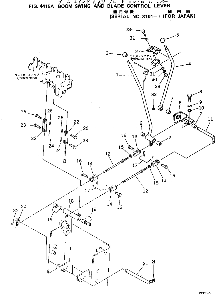
Запчасти Komatsu PC05-5 ПОВОРОТ СТРЕЛЫ И РЫЧАГ УПРАВЛЕНИЯ ОТВАЛОМ(№-) ПОВОРОТН. И СИСТЕМА УПРАВЛЕНИЯ

Схема запчастей Komatsu PC05-5 - ПОВОРОТ СТРЕЛЫ И РЫЧАГ УПРАВЛЕНИЯ ОТВАЛОМ(№-) ПОВОРОТН. И СИСТЕМА УПРАВЛЕНИЯ
FIT
1:1
100%

Артикул

Название

Примечание

Количество

|$0

20M-43-30090

LEVER ASS'Y

1

LEVER

2

09350-02020

BUSHING

3

20R-43-11280

KNOB

4

20M-43-31180

LEVER

5

20R-43-11290

KNOB

|$6

20M-43-30080

BRACKET ASS'Y

6

BRACKET

7

09350-02020

BUSHING

8

01010-50820

BOLT

9

01602-20825

WASHER

10

01643-30823

WASHER

11

20M-43-31562

SHAFT

12

04248-30826

ROD

13

04211-20844

YOKE

14

04221-20844

YOKE

15

01580-10806

NUT

16

04205-30822

PIN

17

01452-10833

PIN

|$19

20M-43-30100

LEVER ASS'Y

18

LEVER

19

09350-02020

BUSHING

20

20M-43-31610

LEVER

21

20M-43-31541

SHAFT

22

20M-43-31310

YOKE

23

04205-10820

PIN

24

04050-12015

PIN

25

04205-10518

PIN

26

04052-10530

PIN

27

20T-43-11270

HINGE

28

01010-50616

BOLT

29

01580-10605

NUT

30

01602-20619

WASHER

31

01640-20610

WASHER

32

04025-00432

PIN

Выбрано товаров: 35