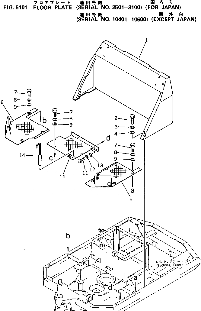
Запчасти Komatsu PC05-5 ПОЛ КАБИНЫ(№-) ОСНОВНАЯ РАМА И КАБИНА

Схема запчастей Komatsu PC05-5 - ПОЛ КАБИНЫ(№-) ОСНОВНАЯ РАМА И КАБИНА
FIT
1:1
100%

Артикул

Название

Примечание

Количество

1

20M-54-33111

COVER

2

01010-51030

BOLT

3

01602-21030

WASHER

4

01643-31032

WASHER

5

20M-54-32221

PLATE,L.H.

6

20M-54-32231

PLATE,R.H.

7

01010-51025

BOLT

8

01602-21030

WASHER

9

01643-31032

WASHER

10

20M-54-32131

PLATE

11

01010-50820

BOLT

12

01602-20825

WASHER

13

01643-30823

WASHER

14

20M-54-32211

PIN

Выбрано товаров: 14