Запчасти Komatsu PC05-5 ГИДР. БАК. AND ФИЛЬТР.(№-) УПРАВЛ-Е РАБОЧИМ ОБОРУДОВАНИЕМ

Схема запчастей Komatsu PC05-5 - ГИДР. БАК. AND ФИЛЬТР.(№-) УПРАВЛ-Е РАБОЧИМ ОБОРУДОВАНИЕМ
FIT
1:1
100%

Артикул

Название

Примечание

Количество

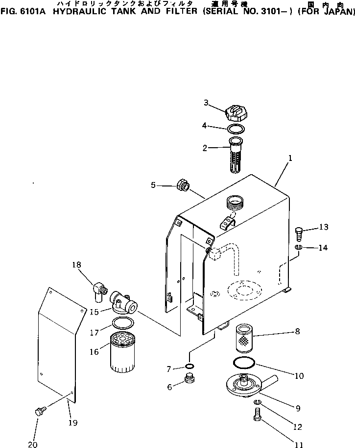
1

20M-60-31112

TANK

2

07056-10045

STRAINER

3

07051-20000

CAP

4

07051-00003

GASKET

5

20N-60-11141

GAUGE

6

07044-12412

PLUG

7

07002-02434

O-RING

8

20M-60-31140

STRAINER

9

20M-60-31211

FLANGE

10

07000-02070

O-RING

11

01010-50820

BOLT

12

01602-20825

WASHER

13

01010-50820

BOLT

14

01602-20825

WASHER

|$14

20M-60-31220

FILTER ASS'Y

15

20M-60-31240

HEAD

|$16

20M-60-31230

CARTRIDGE ASS'Y

16

20M-60-31250

CARTRIDGE

17

20M-60-31260

PACKING

18

20M-60-31270

ELBOW

19

20M-60-31311

COVER

20

01435-00816

BOLT

Выбрано товаров: 22