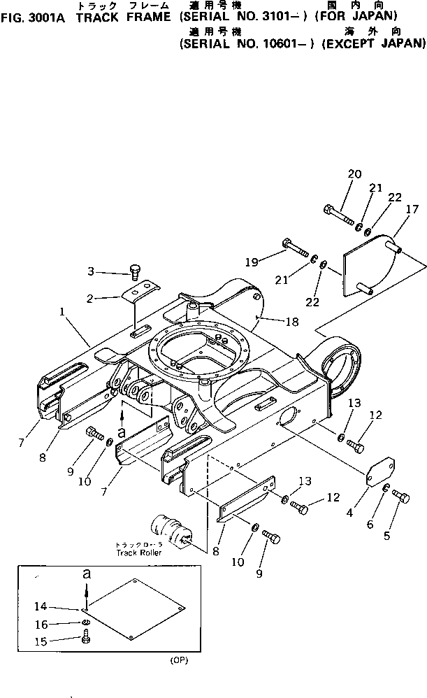
Запчасти Komatsu PC05-5 ГУСЕНИЧНАЯ РАМА(№-) ХОДОВАЯ

Схема запчастей Komatsu PC05-5 - ГУСЕНИЧНАЯ РАМА(№-) ХОДОВАЯ
FIT
1:1
100%

Артикул

Название

Примечание

Количество

1

20M-30-31711

FRAME

2

20M-30-11830

PLATE

3

01010-51016

BOLT

4

20N-30-41240

COVER

5

01010-51020

BOLT

6

01602-21030

WASHER

7

20M-30-31820

GUARD

8

20M-30-31810

GUARD

9

01010-51025

BOLT

10

01643-01032

WASHER

12

01010-51025

BOLT

13

01643-31032

WASHER

14

20M-30-31630

PLATE

15

01010-50820

BOLT

16

01602-20825

WASHER

17

20M-30-31611

COVER,L.H.

18

20M-30-31621

COVER,R.H.

19

01010-51095

BOLT

20

01011-51005

BOLT

21

01602-21030

WASHER

22

01643-31032

WASHER

Выбрано товаров: 21