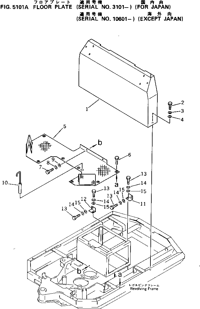
Запчасти Komatsu PC05-5 ПОЛ КАБИНЫ(№-) ОСНОВНАЯ РАМА И КАБИНА

Схема запчастей Komatsu PC05-5 - ПОЛ КАБИНЫ(№-) ОСНОВНАЯ РАМА И КАБИНА
FIT
1:1
100%

Артикул

Название

Примечание

Количество

1

20M-54-33112

COVER

2

01010-50820

BOLT

3

01602-20825

WASHER

4

01643-30823

WASHER

5

20M-54-32132

PLATE

6

01435-00816

BOLT

7

01010-50820

BOLT

8

01602-20825

WASHER

9

01643-30823

WASHER

10

20M-54-32211

PIN

11

20M-54-31220

BRACKET,R.H.

12

20M-54-31210

BRACKET,L.H.

13

01010-50820

BOLT

14

01602-20825

WASHER

15

01643-30823

WASHER

Выбрано товаров: 15