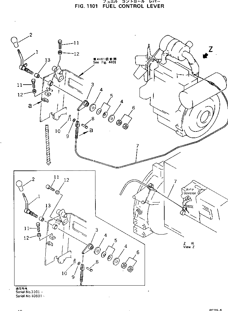
Запчасти Komatsu PC05-5 РЫЧАГ УПРАВЛ-Я ПОДАЧЕЙ ТОПЛИВА КОМПОНЕНТЫ ДВИГАТЕЛЯ И ЭЛЕКТРИКА

Схема запчастей Komatsu PC05-5 - РЫЧАГ УПРАВЛ-Я ПОДАЧЕЙ ТОПЛИВА КОМПОНЕНТЫ ДВИГАТЕЛЯ И ЭЛЕКТРИКА
FIT
1:1
100%

Артикул

Название

Примечание

Количество

1

20M-43-32112

LEVER

|1

20M-43-32111

LEVER

2

113-43-23420

KNOB

3

20M-43-32121

LEVER

4

FF8733-44530

WASHER

5

101-854-9355

SPRING

6

01583-11610

NUT

7

20M-43-32130

WIRE

8

04205-10616

PIN

9

01640-20610

WASHER

10

04052-10633

PIN

|10

04050-11610

PIN

11

01016-51035

BOLT

12

01580-11008

NUT

13

09350-02020

BUSHING

Выбрано товаров: 15