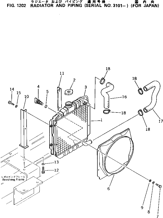
Запчасти Komatsu PC05-5 РАДИАТОР И ТРУБЫ(№-) КОМПОНЕНТЫ ДВИГАТЕЛЯ И ЭЛЕКТРИКА

Схема запчастей Komatsu PC05-5 - РАДИАТОР И ТРУБЫ(№-) КОМПОНЕНТЫ ДВИГАТЕЛЯ И ЭЛЕКТРИКА
FIT
1:1
100%

Артикул

Название

Примечание

Количество

|1

20M-03-11101

RADIATOR ASS'Y

1

CORE

2

20M-03-11130

CAP

3

20M-03-11140

HOSE

4

20N-03-11181

PLUG

5

07000-01007

O-RING

6

20M-03-11120

SHROUD

7

01010-30816

BOLT

8

01602-00825

WASHER

9

01640-20816

WASHER

10

20M-03-32210

BRACKET

11

20M-03-32220

BRACKET

12

01010-50820

BOLT

13

01602-20825

WASHER

14

01010-50816

BOLT

15

01602-20825

WASHER

16

20M-03-32230

HOSE

17

20M-03-32240

HOSE

18

07280-03826

CLAMP

Выбрано товаров: 19