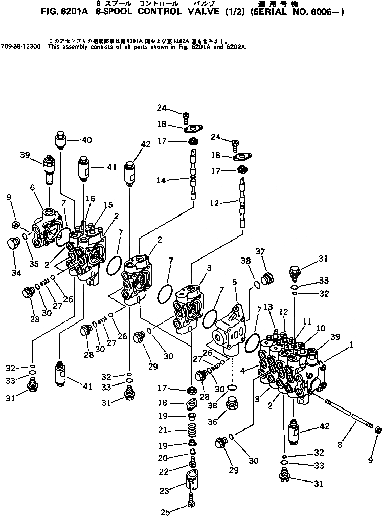
Запчасти Komatsu PC05-6 8-СЕКЦИОНН. УПРАВЛЯЮЩ. КЛАПАН (/)(№-) УПРАВЛ-Е РАБОЧИМ ОБОРУДОВАНИЕМ

Схема запчастей Komatsu PC05-6 - 8-СЕКЦИОНН. УПРАВЛЯЮЩ. КЛАПАН (/)(№-) УПРАВЛ-Е РАБОЧИМ ОБОРУДОВАНИЕМ
FIT
1:1
100%

Артикул

Название

Примечание

Количество

|1

709-38-12300

VALVE ASS'Y

1

BLOCK

2

BLOCK

3

BLOCK

4

BLOCK

5

BLOCK

6

BLOCK

7

07000-12055

O-RING

8

709-38-11510

STUD

9

01580-10806

NUT

10

SPOOL,BOOM

11

SPOOL,BUCKET

12

SPOOL,TRAVEL

13

SPOOL,BLADE

14

SPOOL,ARM

15

SPOOL,SWING

16

SPOOL,BOOM SWING

17

709-32-11530

SEAL,DUST

18

709-32-11540

PLATE

19

709-32-11550

RETAINER

20

709-32-11560

COLLAR

21

709-32-11580

SPRING

22

01252-30620

BOLT

23

709-32-11570

COVER

24

01252-30610

BOLT

25

01252-30616

BOLT

26

04260-01270

BALL

27

709-32-11820

SPRING

28

709-32-11810

PLUG

29

709-32-11930

PLUG

30

07002-11823

O-RING

31

709-32-11830

PLUG

32

709-32-11840

O-RING

33

07002-02034

O-RING

34

07040-12012

PLUG

35

07002-02034

O-RING

36

701-30-63130

PLUG

37

700-22-11370

PLUG

38

07002-02434

O-RING

39

700-28-54000

VALVE ASS'Y,MAIN RELIEF

40

709-30-61100

VALVE ASS'Y,SUCTION

41

709-30-62801

VALVE ASS'Y,SUCTION AND SAFETY

42

709-30-62201

VALVE ASS'Y,SUCTION AND SAFETY

Выбрано товаров: 43