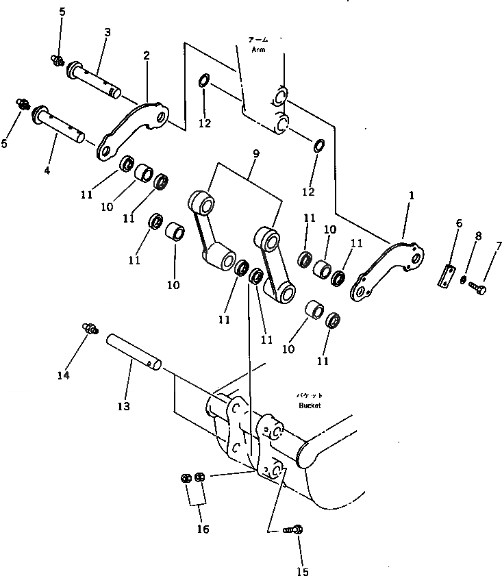
Запчасти Komatsu PC05-6 СОЕДИНЕНИЕ КОВША РАБОЧЕЕ ОБОРУДОВАНИЕ

Схема запчастей Komatsu PC05-6 - СОЕДИНЕНИЕ КОВША РАБОЧЕЕ ОБОРУДОВАНИЕ
FIT
1:1
100%

Артикул

Название

Примечание

Количество

G-1

20M-70-X6410

LINK AND PIN GROUP

1

20M-70-48180

LINK,L.H.

2

20M-70-48170

LINK,R.H.

3

20M-70-11251

PIN

4

20M-70-11262

PIN

5

07020-00000

FITTING,GREASE

6

04082-00110

LOCK

7

01010-51020

BOLT

8

01643-31032

WASHER

|9

20M-70-00540

LINK ASS'Y

9

LINK

10

07143-10303

BUSHING

11

07145-00030

SEAL,DUST

12

20N-70-11280

SPACER¤ 1.0MM

13

20M-70-11270

PIN

14

07020-00000

FITTING,GREASE

15

01010-51070

BOLT

16

01580-11008

NUT

Выбрано товаров: 18