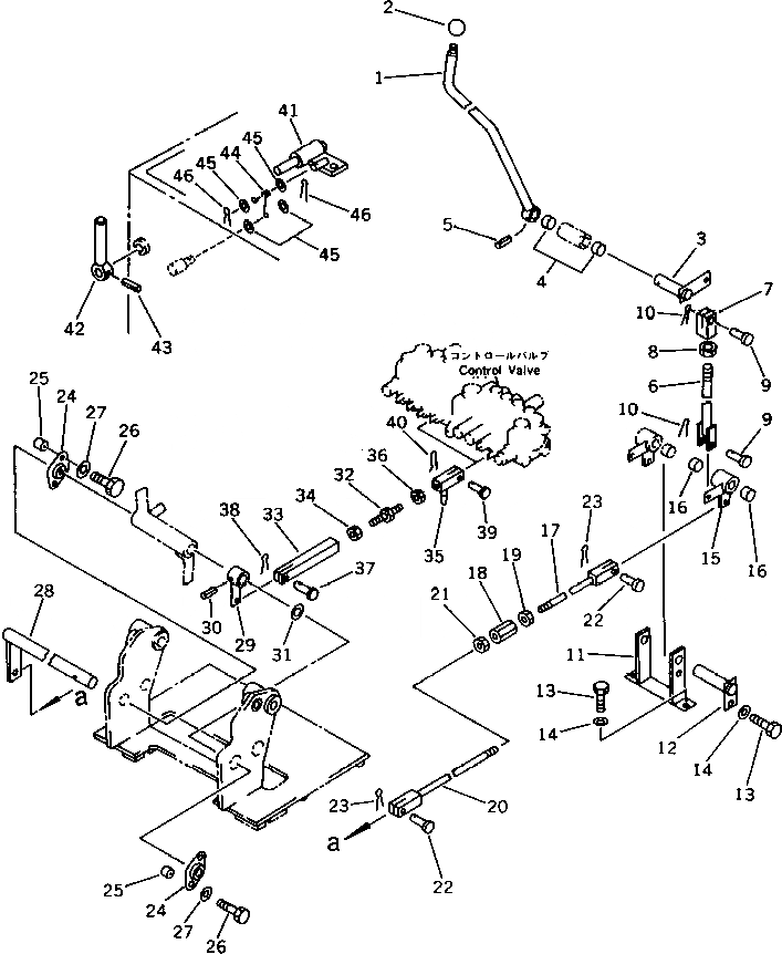
Запчасти Komatsu PC05-6 УПРАВЛЕНИЕ ПОВОРОТОМ СТРЕЛЫ РЫЧАГ(№-) СИСТЕМА УПРАВЛЕНИЯ И ОСНОВНАЯ РАМА

Схема запчастей Komatsu PC05-6 - УПРАВЛЕНИЕ ПОВОРОТОМ СТРЕЛЫ РЫЧАГ(№-) СИСТЕМА УПРАВЛЕНИЯ И ОСНОВНАЯ РАМА
FIT
1:1
100%

Артикул

Название

Примечание

Количество

1

20W-43-13111

LEVER

2

20R-43-11290

KNOB

3

20W-43-13131

LEVER

4

09350-02015

BUSHING

5

04025-00632

PIN,SPRING

6

20M-43-48520

ROD

7

04211-20844

YOKE

8

01580-10806

NUT

9

04205-30822

PIN

10

04050-12015

PIN,COTTER

11

20M-43-48611

BRACKET

12

20M-43-48641

SHAFT

13

01010-50820

BOLT

14

01643-30823

WASHER

15

20M-43-48621

LEVER

16

09350-02015

BUSHING

17

20W-43-13170

ROD

18

20S-43-31270

BUCKLE,TURN

19

01508-41006

NUT,L.H. THREAD

20

04244-41030

ROD

21

01582-11008

NUT

22

04205-31028

PIN

23

04050-13020

PIN,COTTER

24

20N-43-41290

BEARING

25

20W-43-11171

SPACER

26

01010-50830

BOLT

27

01643-30823

WASHER

28

20W-43-13211

SHAFT

29

20W-43-13232

LEVER

30

04025-00632

PIN,SPRING

31

01640-22032

WASHER

32

20W-43-11210

ROD

33

20W-43-13240

YOKE

34

01580-10806

NUT

35

20W-43-11220

YOKE,L.H. THREAD

36

01508-40805

NUT,L.H. THREAD

37

04205-30822

PIN

38

04050-12015

PIN,COTTER

39

04205-10520

PIN

40

04052-10530

PIN,SNAP

41

20W-43-13320

LEVER

42

20W-43-13310

LEVER

43

04025-00520

PIN,SPRING

44

09463-00002

SPRING

45

01641-20608

WASHER

46

04050-11612

PIN,COTTER

Выбрано товаров: 46